<?xml version="1.0" encoding="UTF-8"?><!DOCTYPE wml PUBLIC "-//WAPFORUM//DTD WML 1.1//EN" "http://www.wapforum.org/DTD/wml_1.1.xml">
<wml>
<head> 
<meta http-equiv="Expires" content="0"/> 
<meta http-equiv="Cache-Control" content="no-cache"/> 
<meta http-equiv="Pragma" content="no-cache"/> 
</head>
<card title="更名新乐视，相继收购影视、金融资产，能否拯救600亿市值的乐视网？_砍柴网">
	<p><a href="https://wap.ikanchai.com/">首页</a> &gt; <a href="https://wap.ikanchai.com/?action=category&amp;catid=42">科技头条</a> &gt; <a href="https://wap.ikanchai.com/?action=category&amp;catid=41">新能源</a> &gt; </p>
	<p align="center"><big>更名新乐视，相继收购影视、金融资产，能否拯救600亿市值的乐视网？</big></p>
	<p align="right">2017-09-29 14:47</p>
	<p><p align="center"><img src="http://upload.ikanchai.com/2017/0929/1506667654463.jpeg" /></p><br />
在新任董事长孙宏斌的掌控下，乐视网似乎要和贾跃亭做彻底的切割。<br />
今晚（9月27日），乐视网发布公告，为契合新的战略调整，公司将更名为&ldquo;新乐视信息技术（北京）股份有限公司&rdquo;，简称新乐视。<br />
在此之前，孙宏斌已经对乐视网的高管、业务和财务进行了大刀阔斧的调整和改革，这次改名也水到渠成。<br />
但是，对于十几天后即将复牌的乐视网来说，面临的危机还没有真正解决，目前公司正在全力自救。<br />
3天前，乐视网曾披露，将收购乐视投资旗下的金融类业务，估值大约30亿。<br />
<p align="center"><img src="http://upload.ikanchai.com/2017/0929/1506667654826.jpeg" /></p><br />
这是继今年4月披露收购乐视影业之后，又有新的资产装入乐视网。不同的是，这次装入的业务，与乐视网主业的直接关联并不大，但这已经是贾跃亭目前能拿得出手的少数资产了。<br />
乐视网方面并不讳言，这将有助于解决乐视上市与非上市体系的关联交易问题，而关联交易是乐视近几年受到外界普遍质疑的顽疾。<br />
在娱乐资本论看来，一系列资产注入的背后，更为重要的考量，是拯救乐视网可能崩盘的股价。<br />
尽管之前乐视系公司相继经历了百亿欠款纠纷，贾跃亭旗下资产、股份全部遭冻结，作为乐视掌舵人的贾跃亭出走美国等一系列风波，但是，作为A股上市公司的乐视网恰好处于停牌中，躲过了股价的暴跌。然而，丑媳妇总要见公婆的，乐视网的股票早晚要面对资本市场的严峻考验。<br />
早在2个多月前，易方达等多家基金公司纷纷下调乐视网的估值，降幅约30%。考虑到这些基金对乐视网的估值方法比较保守，而且下调估值后不久，乐视网又爆出中报业绩亏损6.37亿等巨大利空，显然复牌后其股价可能进一步滑向深渊。<br />
如果股价崩盘，不仅贾跃亭所持股份的市值大幅缩水，受害的还有投资乐视150亿的孙宏斌，多家重仓的基金以及18万多的散户投资者，影响甚大。<br />
因此，乐视影业、乐视金融纷纷注入上市公司，希望稳住乐视网股价。但是，这些措施真的会力挽狂澜吗？<br />
30亿估值收购乐视投资，目标直指关联交易<br />
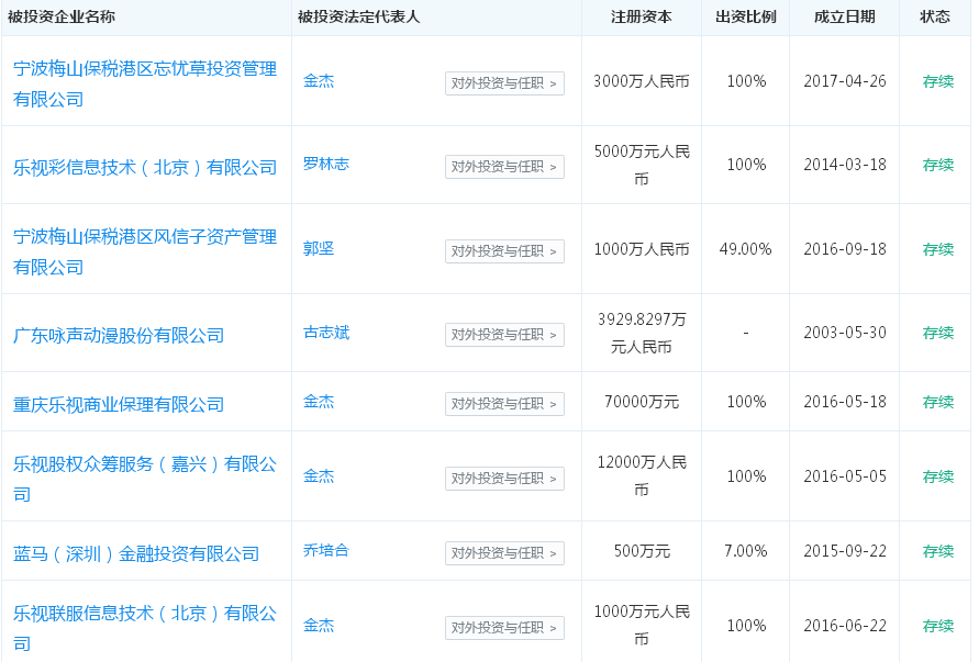
根据乐视网的公告，公司将收购乐视投资管理（北京）有限公司（以下简称&ldquo;乐视投资&rdquo;）100%股权，估值预计不超过30亿，主要是将其金融业务装入上市公司，非金融业务不在收购范围之内。<br />
企查查数据显示，乐视投资目前共有52笔投资，覆盖了商业保理、股权众筹等行业，其中不乏咏声动漫、永乐文化、布丁股份等新三板挂牌企业。<br />
<p align="center"><img src="http://upload.ikanchai.com/2017/0929/1506667654998.png" /></p><br />
具体来看，乐视投资旗下的金融</p>
	<p><a href="javascript:void(0);" class="prev disable"></a><a href="https://wap.ikanchai.com/?action=show&amp;contentid=162279&amp;type=all">余下全部</a></p>	<p><a href="https://wap.ikanchai.com/?action=comment&amp;contentid=162279">共有评论0条</a></p>
	<p>
	<p>相关推荐</p>
		<a href="https://wap.ikanchai.com/?action=show&amp;contentid=644696"> 负债238亿！乐视网拟投入1.8亿炒股</a><br />
		<a href="https://wap.ikanchai.com/?action=show&amp;contentid=426012">乐视视频App换上新logo，疯狂消费老板贾跃亭</a><br />
		<a href="https://wap.ikanchai.com/?action=show&amp;contentid=407463">高管：乐视还有约450名员工，一年总薪酬1.2亿</a><br />
		<a href="https://wap.ikanchai.com/?action=show&amp;contentid=407460">乐视网：公司净资产负153亿，说欠122亿是为推广效果</a><br />
		<a href="https://wap.ikanchai.com/?action=show&amp;contentid=377271">乐视网被罚2.4亿，已资不抵债，还有钱交罚款吗？</a><br />
		<a href="https://wap.ikanchai.com/?action=show&amp;contentid=376111">乐视网董事长刘延峰再被限制消费 因未支付800万元授权费</a><br />
		<a href="https://wap.ikanchai.com/?action=show&amp;contentid=374742">未履行给付义务 乐视网董事长刘延峰再被限制消费</a><br />
		<a href="https://wap.ikanchai.com/?action=show&amp;contentid=363135">乐视网周四退打开跌停，成交额超9000万元</a><br />
		<a href="https://wap.ikanchai.com/?action=show&amp;contentid=362434">乐视网1354项商标开拍，目前出价已超4200万元</a><br />
		<a href="https://wap.ikanchai.com/?action=show&amp;contentid=353267">乐视控股回击乐视网：贾跃亭早已不实际控制乐视网</a><br />
		<a href="https://wap.ikanchai.com/?action=show&amp;contentid=352944">乐视网：即便贾跃亭申请破产成功 90亿元债务也要还</a><br />
		<a href="https://wap.ikanchai.com/?action=show&amp;contentid=352796">乐视网：公司将全力对关联方应收款项进行催收</a><br />
		<a href="https://wap.ikanchai.com/?action=show&amp;contentid=352795">乐视网：若退市将到老三板市场 贾跃亭仍是实控人</a><br />
		<a href="https://wap.ikanchai.com/?action=show&amp;contentid=350166">乐视网：2019年全年实现营业总收入4.99亿元，亏损112.79亿元</a><br />
		<a href="https://wap.ikanchai.com/?action=show&amp;contentid=327491">乐视网回应退市：若退市到三板市场 公司将继续经营</a><br />
		<a href="https://wap.ikanchai.com/?action=show&amp;contentid=327447">乐视网称一直未间断与贾跃亭沟通 将会继续保持</a><br />
		<a href="https://wap.ikanchai.com/?action=show&amp;contentid=300067">乐视网前副董事长刘弘所持乐视影业股份拍卖再流拍</a><br />
		<a href="https://wap.ikanchai.com/?action=show&amp;contentid=299967">乐视股东大会5分钟结束:董事长拒答提名董事履历问题</a><br />
		<a href="https://wap.ikanchai.com/?action=show&amp;contentid=298340">乐视网上半年预亏超3.6亿:广告 会员等收入持续下滑</a><br />
		<a href="https://wap.ikanchai.com/?action=show&amp;contentid=296903">深交所对乐视网下发关注函，要求补充新董事长刘延峰工作背景</a><br />
		<a href="https://wap.ikanchai.com/?action=show&amp;contentid=296897">乐视网遭问询：高管为何接连出走 董事长能否胜任</a><br />
		<a href="https://wap.ikanchai.com/?action=show&amp;contentid=295750">乐视网刘延峰：上市公司债务压力大，现金流仅维持公司运转</a><br />
		<a href="https://wap.ikanchai.com/?action=show&amp;contentid=294893">乐视网起诉贾跃芳旗下乐视汽车：因广告合同纠纷</a><br />
		<a href="https://wap.ikanchai.com/?action=show&amp;contentid=292618">孙宏斌又喊乐视还钱了 融创要求偿还32亿元</a><br />
		<a href="https://wap.ikanchai.com/?action=show&amp;contentid=287157">贾跃亭方回应乐视网百亿回购责任:没签过字</a><br />
		<a href="https://wap.ikanchai.com/?action=show&amp;contentid=286707">被裁决或承担110亿元回购责任 乐视网：我们不服</a><br />
		<a href="https://wap.ikanchai.com/?action=show&amp;contentid=286687">乐视网回应新增百亿债务：贾跃亭责任我们不应担责</a><br />
		<a href="https://wap.ikanchai.com/?action=show&amp;contentid=286120">乐融致新估值成谜关联方占款未还 深交所11问乐视网</a><br />
		<a href="https://wap.ikanchai.com/?action=show&amp;contentid=285862">乐视网收年报问询函 要求说明乐融致新评估值问题</a><br />
		<a href="https://wap.ikanchai.com/?action=show&amp;contentid=285806">42次“死缓”提示终成真，积重难返的乐视难逃退市命运</a><br />
		<a href="https://wap.ikanchai.com/?action=show&amp;contentid=285419">贾跃亭在国外怎么配合证监会调查?乐视网董秘回应</a><br />
		<a href="https://wap.ikanchai.com/?action=show&amp;contentid=285417">乐视网：不存在融创掏空乐视网的情况</a><br />
		<a href="https://wap.ikanchai.com/?action=show&amp;contentid=285276">乐视网原董事长孙宏斌退出乐融致新董事会</a><br />
		<a href="https://wap.ikanchai.com/?action=show&amp;contentid=284528">贾跃亭跑路700天：从“下周回国”到不问归期</a><br />
		<a href="https://wap.ikanchai.com/?action=show&amp;contentid=284517">贾跃亭还是不会回国</a><br />
		<a href="https://wap.ikanchai.com/?action=show&amp;contentid=284456">证监会对乐视网及贾跃亭立案调查，贾跃亭或将回国</a><br />
		<a href="https://wap.ikanchai.com/?action=show&amp;contentid=283670">证监会对贾跃亭立案调查 股民或能追回部分损失</a><br />
		<a href="https://wap.ikanchai.com/?action=show&amp;contentid=283380">2018年巨亏41亿 乐视网想留在A股不容易</a><br />
		<a href="https://wap.ikanchai.com/?action=show&amp;contentid=283085">乐视网暂停上市几成定局 17亿资金抢筹“接飞刀”</a><br />
		<a href="https://wap.ikanchai.com/?action=show&amp;contentid=282846">乐视网暂停上市成定局:去年净资产为负30亿 债务难解</a><br />
		<a href="https://wap.ikanchai.com/?action=show&amp;contentid=282756">乐视网正式走向暂停上市：净资产为负，今起停牌</a><br />
		<a href="https://wap.ikanchai.com/?action=show&amp;contentid=282609">连续4日跌停 乐视网迎来股票最后时刻？</a><br />
		<a href="https://wap.ikanchai.com/?action=show&amp;contentid=281799">乐视网暂停上市几成定局 投资者该守望谁？</a><br />
		<a href="https://wap.ikanchai.com/?action=show&amp;contentid=281491">距离宣判仅剩4日贾跃亭还在忙着造车 乐视网要被债务“窒息”</a><br />
		<a href="https://wap.ikanchai.com/?action=show&amp;contentid=278927">乐视网仍有120亿债务压顶 称从未放弃向贾跃亭要债</a><br />
		<a href="https://wap.ikanchai.com/?action=show&amp;contentid=278828">乐视：负债120亿元，偿债压力仍未缓解</a><br />
		<a href="https://wap.ikanchai.com/?action=show&amp;contentid=278800">乐视网高管：债务压力未缓解 以FF股权偿债仍在讨论</a><br />
		<a href="https://wap.ikanchai.com/?action=show&amp;contentid=277561">乐视网暂停上市几成定局：乐融致新出表未能挽回败局</a><br />
		<a href="https://wap.ikanchai.com/?action=show&amp;contentid=277533">乐视网:2018年归母净资产预计为负 或将被暂停上市</a><br />
		<a href="https://wap.ikanchai.com/?action=show&amp;contentid=274332">乐视网全资子公司"西藏乐视"发生股东变更 多名主要人员被移除</a><br />
		<a href="https://wap.ikanchai.com/?action=show&amp;contentid=269671">退市60天倒计时，乐视网百亿元市值大逃杀</a><br />
		<a href="https://wap.ikanchai.com/?action=show&amp;contentid=269609">“弃儿” 乐视网：贾跃亭套现，孙宏斌出走，退市或成定局</a><br />
		<a href="https://wap.ikanchai.com/?action=show&amp;contentid=264382">乐视网空空如也</a><br />
		<a href="https://wap.ikanchai.com/?action=show&amp;contentid=261837">乐视网：乐融致新通过自筹资金方式归还民生信托9.01亿元</a><br />
		<a href="https://wap.ikanchai.com/?action=show&amp;contentid=255102">融创催乐视网3日内清偿30亿元 乐视否认贾跃亭FF股权遭冻</a><br />
		<a href="https://wap.ikanchai.com/?action=show&amp;contentid=254937">孙宏斌逼债，乐视网核心资产难保</a><br />
		<a href="https://wap.ikanchai.com/?action=show&amp;contentid=253486">乐视网及乐视体育近亿元财产再被申请查封、扣押或冻结</a><br />
		<a href="https://wap.ikanchai.com/?action=show&amp;contentid=252306">乐视网再被列为失信执行人 星美深圳影院停业大半遭员工讨薪</a><br />
		<a href="https://wap.ikanchai.com/?action=show&amp;contentid=251926">乐视有毒</a><br />
		<a href="https://wap.ikanchai.com/?action=show&amp;contentid=251618">乐视用这个方法可能让净资产转正，但退市风险犹在</a><br />
		<a href="https://wap.ikanchai.com/?action=show&amp;contentid=250411">乐视网CFO：从中泰创展的借款未按时偿还 已构成违约</a><br />
		<a href="https://wap.ikanchai.com/?action=show&amp;contentid=250255">乐视网高管：债务压力较大有期债务80亿左右 贾跃亭或再被追讨</a><br />
		<a href="https://wap.ikanchai.com/?action=show&amp;contentid=250001">王思聪之后乐视又被追债19亿！被起诉42次索赔87亿年关难过</a><br />
		<a href="https://wap.ikanchai.com/?action=show&amp;contentid=249988">乐视又被追债19亿！被诉42次索赔87亿 年关难过</a><br />
		<a href="https://wap.ikanchai.com/?action=show&amp;contentid=248706">乐视体育资金链断裂遭王思聪讨债 乐视网又要背上新债务</a><br />
		<a href="https://wap.ikanchai.com/?action=show&amp;contentid=246160">乐视网或失去乐融致新控制权 还在被追讨14亿</a><br />
		<a href="https://wap.ikanchai.com/?action=show&amp;contentid=242006">乐视网董事长称目前无法畅想未来 股价大跌7.78%</a><br />
		<a href="https://wap.ikanchai.com/?action=show&amp;contentid=241590">乐视网前三季度巨亏15亿 股价早盘大涨4.53%</a><br />
		<a href="https://wap.ikanchai.com/?action=show&amp;contentid=238137">“剥离”乐融致新的乐视网涨停了 但它依然面临退市风险</a><br />
		<a href="https://wap.ikanchai.com/?action=show&amp;contentid=237489">乐视控股股权资产被拍卖：乐视致新与乐视影业估值大幅下滑</a><br />
		<a href="https://wap.ikanchai.com/?action=show&amp;contentid=237007">乐视网提示资金极度紧张并被列入失信名单 股价大跌6%</a><br />
		<a href="https://wap.ikanchai.com/?action=show&amp;contentid=236872">乐视网首次被列入失信被执行名单</a><br />
		<a href="https://wap.ikanchai.com/?action=show&amp;contentid=236859">乐视网首次被列入失信被执行名单</a><br />
		<a href="https://wap.ikanchai.com/?action=show&amp;contentid=236590">乐视网称“乐融”并非独立法律实体，未侵害上市公司利益</a><br />
		<a href="https://wap.ikanchai.com/?action=show&amp;contentid=235780">科技晚报：菜鸟战略参股易流科技   苹果推出防盗防丢的AppleCare+服务</a><br />
		<a href="https://wap.ikanchai.com/?action=show&amp;contentid=235630">乐视网停牌核查结束 今日开盘跌停</a><br />
		<a href="https://wap.ikanchai.com/?action=show&amp;contentid=235591">复盘即跌停 乐视网再次拉响退市警报</a><br />
		<a href="https://wap.ikanchai.com/?action=show&amp;contentid=234012">连续5个涨停后 乐视网停牌核查</a><br />
		<a href="https://wap.ikanchai.com/?action=show&amp;contentid=234008">乐视翻番 题材股炒出新的无厘头</a><br />
		<a href="https://wap.ikanchai.com/?action=show&amp;contentid=233919">连续5个涨停后 乐视网停牌核查</a><br />
		<a href="https://wap.ikanchai.com/?action=show&amp;contentid=233199">乐视网与乐融致新 未来或分道扬镳</a><br />
		<a href="https://wap.ikanchai.com/?action=show&amp;contentid=232585">乐视网上半年亏损11亿元股价逆势大涨8％ 8天反弹40％</a><br />
		<a href="https://wap.ikanchai.com/?action=show&amp;contentid=231580">欠上市公司67亿 贾跃亭卖多少车才能还债</a><br />
		<a href="https://wap.ikanchai.com/?action=show&amp;contentid=230943">“容易冲动”的乐视股价：贾跃亭兜底乐视债务靠谱吗</a><br />
		<a href="https://wap.ikanchai.com/?action=show&amp;contentid=230410">乐视网认定贾跃亭欠67亿元未获直接现金流入</a><br />
		<a href="https://wap.ikanchai.com/?action=show&amp;contentid=227724">乐视网债券逾期股价大跌7%，离退市还差半年？</a><br />
		<a href="https://wap.ikanchai.com/?action=show&amp;contentid=227315">市值已跌破100亿元，乐视网的终点快到了？</a><br />
		<a href="https://wap.ikanchai.com/?action=show&amp;contentid=221011">FF获20亿美元融资后：乐视网涨停了，恒大健康涨逾70%</a><br />
		<a href="https://wap.ikanchai.com/?action=show&amp;contentid=220454">乐视网高管坦言尚处困境 核心资产乐融致新暗藏隐忧</a><br />
		<a href="https://wap.ikanchai.com/?action=show&amp;contentid=220414">乐视网称正重新激活核心业务</a><br />
		<a href="https://wap.ikanchai.com/?action=show&amp;contentid=215471">深交所再问乐视网：与贾跃亭是否存在合署办公、代付工资问题</a><br />
		<a href="https://wap.ikanchai.com/?action=show&amp;contentid=214137">乐视网面临“退市风险”，资本市场再难“炒作”?</a><br />
		<a href="https://wap.ikanchai.com/?action=show&amp;contentid=213344">旧账加新愁，乐视没有好消息</a><br />
		<a href="https://wap.ikanchai.com/?action=show&amp;contentid=213211">乐视网业绩会：2018年Q1亏损约3.07亿元，存退市风险</a><br />
		<a href="https://wap.ikanchai.com/?action=show&amp;contentid=213210">乐视业绩说明会全程实录：将切实解决公司的实际债务（附全文）</a><br />
		<a href="https://wap.ikanchai.com/?action=show&amp;contentid=213203"> 乐视网：可能失去乐融致新控股权，后者或不再并表</a><br />
		<a href="https://wap.ikanchai.com/?action=show&amp;contentid=211594">资金缺口近百亿、视频创收增长，乐视网将与超级电视彻底告别？</a><br />
		<a href="https://wap.ikanchai.com/?action=show&amp;contentid=210383">乐视网2017年巨亏138亿元 审计机构称“无法表示意见”</a><br />
		<a href="https://wap.ikanchai.com/?action=show&amp;contentid=209168">乐视网开盘跌停，封单近40万手</a><br />
		<a href="https://wap.ikanchai.com/?action=show&amp;contentid=209119">巨头驰援恐致核心资产"出表" 乐视网又失脱困筹码</a><br />
		<a href="https://wap.ikanchai.com/?action=show&amp;contentid=208726">乐视网联手华易科技：要在中石化加油站便利店建电视媒体平台</a><br />
		<a href="https://wap.ikanchai.com/?action=show&amp;contentid=208559">乐视网午后封涨停，封单高达60万手，换手率近10%</a><br />
		<a href="https://wap.ikanchai.com/?action=show&amp;contentid=206521">乐视网一季度预亏超三亿，各项收入均大幅下滑</a><br />
		<a href="https://wap.ikanchai.com/?action=show&amp;contentid=206139">逆水行舟的乐视电视和病入膏肓的乐视网</a><br />
		<a href="https://wap.ikanchai.com/?action=show&amp;contentid=205373">与腾讯签约的新乐视智家，早已被贾跃亭质押</a><br />
		<a href="https://wap.ikanchai.com/?action=show&amp;contentid=205156">抄底乐视，小心成为接盘侠！</a><br />
		<a href="https://wap.ikanchai.com/?action=show&amp;contentid=204895">乐视子公司与腾讯达成3年内容合作 去年前三季度亏损8亿元</a><br />
		<a href="https://wap.ikanchai.com/?action=show&amp;contentid=203962">乐视网28日复牌：现金流紧张但尚未形成解决方案</a><br />
		<a href="https://wap.ikanchai.com/?action=show&amp;contentid=203309">孙宏斌 “分手”后首谈乐视：妖股、不后悔、别骂我</a><br />
		<a href="https://wap.ikanchai.com/?action=show&amp;contentid=203273">或受孙宏斌 “妖股”言论影响 乐视网开市停牌</a><br />
		<a href="https://wap.ikanchai.com/?action=show&amp;contentid=202259">乐视网暴涨暴跌，背后隐秘推手是谁？</a><br />
		<a href="https://wap.ikanchai.com/?action=show&amp;contentid=202137">重组、偿债还是找新接盘侠，乐视网的未来该怎么走？</a><br />
		<a href="https://wap.ikanchai.com/?action=show&amp;contentid=201242">在乐视网董事长的位子上呆了不足8个月，孙宏斌跑了</a><br />
		<a href="https://wap.ikanchai.com/?action=show&amp;contentid=201238">乐视网八个月苦旅，孙宏斌为何最终还是放手？</a><br />
		<a href="https://wap.ikanchai.com/?action=show&amp;contentid=201122">孙宏斌辞任董事长，乐视网复牌逾73万封单封死跌停</a><br />
		<a href="https://wap.ikanchai.com/?action=show&amp;contentid=201053">乐视网八个月苦旅，孙宏斌为何最终还是放手？</a><br />
		<a href="https://wap.ikanchai.com/?action=show&amp;contentid=201032">乐视网下午停牌、孙宏斌晚间辞职，乐视已倒？</a><br />
		<a href="https://wap.ikanchai.com/?action=show&amp;contentid=200911">孙宏斌退位，乐视网退市还是重整？</a><br />
		<a href="https://wap.ikanchai.com/?action=show&amp;contentid=200754">科技晚报：黑猫投诉平台上线  三星赴刚果亲自采购钴矿石</a><br />
		<a href="https://wap.ikanchai.com/?action=show&amp;contentid=200656">乐视网下午开市起停牌 近期股票交易波动幅度较大</a><br />
		<a href="https://wap.ikanchai.com/?action=show&amp;contentid=200102">乐视网股权质押至少牵涉5家上市券商</a><br />
		<a href="https://wap.ikanchai.com/?action=show&amp;contentid=197386">乐视临时股东会上不见孙宏斌踪影    持仓股民慌了</a><br />
		<a href="https://wap.ikanchai.com/?action=show&amp;contentid=197349">孙宏斌缺席乐视网临时股东大会？总经理刘淑青坐镇</a><br />
		<a href="https://wap.ikanchai.com/?action=show&amp;contentid=197132">乐视网预亏百亿还有“后续” 60亿影视版权面临减值</a><br />
		<a href="https://wap.ikanchai.com/?action=show&amp;contentid=196286">乐视网2.3亿股限售股将解禁，4家股东浮亏超36亿</a><br />
		<a href="https://wap.ikanchai.com/?action=show&amp;contentid=195649">乐视网本周能否打开跌停？资金涌入重仓基金谋套利</a><br />
		<a href="https://wap.ikanchai.com/?action=show&amp;contentid=195325">想要拯救乐视网，贾跃亭必须出局</a><br />
		<a href="https://wap.ikanchai.com/?action=show&amp;contentid=194332">40岁乐视散户自白：伸是一刀，缩也是一刀！</a><br />
		<a href="https://wap.ikanchai.com/?action=show&amp;contentid=193664">连续三天跌停贾跃亭已到平仓边缘</a><br />
		<a href="https://wap.ikanchai.com/?action=show&amp;contentid=193590">乐视网全天成交1136万元 连续三跌停市值蒸发逾百亿</a><br />
		<a href="https://wap.ikanchai.com/?action=show&amp;contentid=193125">乐视网将连续跌停，孙宏斌难言巨亏</a><br />
		<a href="https://wap.ikanchai.com/?action=show&amp;contentid=192775">乐视网复牌开启跌停之旅，孙宏斌的拯救计划濒于失败</a><br />
		<a href="https://wap.ikanchai.com/?action=show&amp;contentid=192544">乐视网召开投资者说明会，孙宏斌：如果救不了乐视只能遗憾（附实录）</a><br />
		<a href="https://wap.ikanchai.com/?action=show&amp;contentid=192455">孙宏斌今日上线回应投资者 外界推测乐视网本周内复牌</a><br />
		<a href="https://wap.ikanchai.com/?action=show&amp;contentid=192333">乐视网重组失败复牌在即，恐面临退市风险</a><br />
		<a href="https://wap.ikanchai.com/?action=show&amp;contentid=192141">科技晚报：乐视网或于下周四复牌   亚马逊上调Prime月费会员费用近20%</a><br />
		<a href="https://wap.ikanchai.com/?action=show&amp;contentid=192129"> 乐视网或于下周复牌 发公告“回击”甘薇</a><br />
		<a href="https://wap.ikanchai.com/?action=show&amp;contentid=192069">终止重组更名未果，乐视网带着“九大风险”空手复牌</a><br />
		<a href="https://wap.ikanchai.com/?action=show&amp;contentid=191989">乐视重组失败    浇灭了投资者的最后一丝希望</a><br />
		<a href="https://wap.ikanchai.com/?action=show&amp;contentid=191963">乐视影业注入失败，这可能是压倒乐视的最后一根稻草</a><br />
		<a href="https://wap.ikanchai.com/?action=show&amp;contentid=191960">乐视网宣布终止乐视影业注入：贾跃亭持股被冻结短期难解决</a><br />
		<a href="https://wap.ikanchai.com/?action=show&amp;contentid=191938">乐视网放弃重组乐视影业，公司名和证券代码变更也将终止</a><br />
		<a href="https://wap.ikanchai.com/?action=show&amp;contentid=191566">乐视网复牌切忌盲目抄底 已经面临“油尽灯枯”</a><br />
		<a href="https://wap.ikanchai.com/?action=show&amp;contentid=185880">刘淑青接手乐视网CEO 融创系全面接手乐视网</a><br />
		<a href="https://wap.ikanchai.com/?action=show&amp;contentid=185806">刘淑青接手乐视网CEO 融创系全面接手乐视网</a><br />
		<a href="https://wap.ikanchai.com/?action=show&amp;contentid=185312">乐视网发内部信, 融创系刘淑青补缺乐视网CEO</a><br />
		<a href="https://wap.ikanchai.com/?action=show&amp;contentid=185228">港媒：乐视香港入禀高院自行申请清盘</a><br />
		<a href="https://wap.ikanchai.com/?action=show&amp;contentid=184476">乐视网被调出深证成指等多个指数：避免复牌大跌影响大盘？</a><br />
		<a href="https://wap.ikanchai.com/?action=show&amp;contentid=183725">孙宏斌人事洗牌完成 融创刘淑青任职乐视网 CEO</a><br />
		<a href="https://wap.ikanchai.com/?action=show&amp;contentid=183027">贾跃亭四次被法院列入“老赖”名单，乐视网发公告提醒投资者风险</a><br />
		<a href="https://wap.ikanchai.com/?action=show&amp;contentid=177143"> 深交所问询乐视网：董事会将乐视致新股权质押给融创是否越权</a><br />
		<a href="https://wap.ikanchai.com/?action=show&amp;contentid=176677">乐视网“阵亡”名单：市值蒸发1370亿 21家基金公司踩雷</a><br />
		<a href="https://wap.ikanchai.com/?action=show&amp;contentid=176672">乐视网未了局：长期停牌锁住融资客 券商再补刀砍出9跌停</a><br />
		<a href="https://wap.ikanchai.com/?action=show&amp;contentid=175786">四天26家机构调降乐视网估值 市值缩水或达75%</a><br />
		<a href="https://wap.ikanchai.com/?action=show&amp;contentid=175653">四天26家机构调降乐视网估值 市值缩水或达75%</a><br />
		<a href="https://wap.ikanchai.com/?action=show&amp;contentid=174668">保住乐视网？！孙宏斌欲数十亿元增资乐视影业和乐视致新</a><br />
		<a href="https://wap.ikanchai.com/?action=show&amp;contentid=174455">保住乐视网？孙宏斌欲数十亿元增资乐视影业和乐视致新</a><br />
		<a href="https://wap.ikanchai.com/?action=show&amp;contentid=173291">顾颖琼发伪造文件或被罚，贾跃亭继续融资苦旅</a><br />
		<a href="https://wap.ikanchai.com/?action=show&amp;contentid=173164">乐视网IPO工作底稿曾被查阅 当年保代仍在正常工作</a><br />
		<a href="https://wap.ikanchai.com/?action=show&amp;contentid=171747">贾跃亭否认上市造假传闻：乐视网IPO100％没有造假</a><br />
		<a href="https://wap.ikanchai.com/?action=show&amp;contentid=170803">三季报营收巨亏、前发审委委员被查，乐视网或面临退市</a><br />
		<a href="https://wap.ikanchai.com/?action=show&amp;contentid=169805">乐视网造假上市，法律后果有哪些？</a><br />
		<a href="https://wap.ikanchai.com/?action=show&amp;contentid=169397">影视业三季报盘点谁会成为全年最赚钱公司？</a><br />
		<a href="https://wap.ikanchai.com/?action=show&amp;contentid=169239">乐视网IPO东窗事发：7年前早就质疑声四起</a><br />
		<a href="https://wap.ikanchai.com/?action=show&amp;contentid=168577">乐视网前三季度亏损16.52亿 员工离职补偿金超9000万</a><br />
		<a href="https://wap.ikanchai.com/?action=show&amp;contentid=168172">乐视网恐将跌超60%:中邮华安创业板50鹏华传媒煎熬</a><br />
		<a href="https://wap.ikanchai.com/?action=show&amp;contentid=168064">乐视网高层调整不断 张昭统管上市体系业务全面操盘新乐视</a><br />
		<a href="https://wap.ikanchai.com/?action=show&amp;contentid=167065">乐视网CEO梁军被曝已交辞呈：目前正在休养调整阶段</a><br />
		<a href="https://wap.ikanchai.com/?action=show&amp;contentid=166903">乐视否认放弃电视业务 孙宏斌要打造电视+影视新产业链</a><br />
		<a href="https://wap.ikanchai.com/?action=show&amp;contentid=165092">科技晚报：饿了么获支付宝入口  亚马逊中国海外购增加德国</a><br />
		<a href="https://wap.ikanchai.com/?action=show&amp;contentid=164708">乐视网前三季度预亏16亿 把过去7年赚的钱亏掉了70%</a><br />
		<a href="https://wap.ikanchai.com/?action=show&amp;contentid=164612">乐视网前三季度预亏16亿 把过去7年赚的钱亏掉了70%</a><br />
		<a href="https://wap.ikanchai.com/?action=show&amp;contentid=164149">入股2亿不能查账 一股东起诉乐视影业</a><br />
		<a href="https://wap.ikanchai.com/?action=show&amp;contentid=163692">乐视网停牌将超6个月重组 乐视影业被指隐瞒重要经营事项</a><br />
		<a href="https://wap.ikanchai.com/?action=show&amp;contentid=162900">乐视网更名新乐视 乐视影业从电影发行转型为IP运营</a><br />
		<a href="https://wap.ikanchai.com/?action=show&amp;contentid=162278">考验新乐视的时刻即将来临 孙宏斌会第三次谢幕吗？</a><br />
		<a href="https://wap.ikanchai.com/?action=show&amp;contentid=161879">乐视网正式改名新乐视 乐视品牌是否会变更存悬念</a><br />
		<a href="https://wap.ikanchai.com/?action=show&amp;contentid=161860">更名新乐视，收购影视、金融资产，能否拯救乐视网？</a><br />
		<a href="https://wap.ikanchai.com/?action=show&amp;contentid=161688">永别了贾跃亭！乐视网正式更名：新乐视</a><br />
		<a href="https://wap.ikanchai.com/?action=show&amp;contentid=161212">30亿元！乐视网正式接盘乐视金融 ，贾跃亭加速腾挪关联资产</a><br />
		<a href="https://wap.ikanchai.com/?action=show&amp;contentid=161200">乐视金融或成债权重组重要一步：生不逢时　壮志难酬</a><br />
		<a href="https://wap.ikanchai.com/?action=show&amp;contentid=161025">乐视金融或成债权重组重要一步：生不逢时 壮志难酬</a><br />
		<a href="https://wap.ikanchai.com/?action=show&amp;contentid=160727">乐视网正式接盘乐视金融，作价不超过30亿</a><br />
		<a href="https://wap.ikanchai.com/?action=show&amp;contentid=160203">乐视网与前掌门划清界限 敦促贾跃亭履行借款承诺</a><br />
		<a href="https://wap.ikanchai.com/?action=show&amp;contentid=160098">借款乐视网“爽约” 贾跃亭的钱去哪了</a><br />
		<a href="https://wap.ikanchai.com/?action=show&amp;contentid=159940">贾跃亭借款乐视网却爽约 那钱都去哪了？</a><br />
		<a href="https://wap.ikanchai.com/?action=show&amp;contentid=159902">贾跃亭借款乐视网却爽约 套现的钱都去哪了</a><br />
		<a href="https://wap.ikanchai.com/?action=show&amp;contentid=159633">乐视网:我们现在就是缺钱！贾跃亭最高时曾借给公司47亿</a><br />
		<a href="https://wap.ikanchai.com/?action=show&amp;contentid=159570">贾跃亭最高曾借乐视网47亿 未来履约存极大不确定性</a><br />
		<a href="https://wap.ikanchai.com/?action=show&amp;contentid=159326">乐视网欠费风波继续发酵 因欠百万赛事版权费被诉违约</a><br />
		<a href="https://wap.ikanchai.com/?action=show&amp;contentid=158645">贾跃亭现身香港餐馆，见投资人谈融资，债务问题能得到解决嘛？</a><br />
		<a href="https://wap.ikanchai.com/?action=show&amp;contentid=157911">乐视高层调整：张志伟任乐视致新CEO 向梁军汇报</a><br />
		<a href="https://wap.ikanchai.com/?action=show&amp;contentid=156985">乐视网中报政府补助转为“零” 变创业板亏损王</a><br />
		<a href="https://wap.ikanchai.com/?action=show&amp;contentid=156380">诉讼缠身或造成融资困难 乐视网成创业板“亏损王”</a><br />
		<a href="https://wap.ikanchai.com/?action=show&amp;contentid=155492">乐视财报“洗大澡”：身体洗干净，脸不整整吗？</a><br />
		<a href="https://wap.ikanchai.com/?action=show&amp;contentid=155286">半年亏6亿|贾跃亭姐弟提前收回借款</a><br />
		<a href="https://wap.ikanchai.com/?action=show&amp;contentid=155253">暴风游走于亏损边缘：股权不到30%子公司成财技担当</a><br />
		<a href="https://wap.ikanchai.com/?action=show&amp;contentid=155187">半年报揭开乐视网现状 非上市体系成最大拖累</a><br />
		<a href="https://wap.ikanchai.com/?action=show&amp;contentid=154456">乐视网：过去1年被起诉类案件33起 涉案金额15.97亿元</a><br />
		<a href="https://wap.ikanchai.com/?action=show&amp;contentid=154452">乐视网自揭老底：1年内被诉33案涉16亿元，百度也是债主</a><br />
		<a href="https://wap.ikanchai.com/?action=show&amp;contentid=153294">继乐视内部大换血后 腾讯、阿里、京东或将入局战略投资者</a><br />
		<a href="https://wap.ikanchai.com/?action=show&amp;contentid=153212">乐视网重组 未来两个月将上演生死时速</a><br />
		<a href="https://wap.ikanchai.com/?action=show&amp;contentid=153201">乐视网寻求融资 正和多方接触</a><br />
		<a href="https://wap.ikanchai.com/?action=show&amp;contentid=152999">孙宏斌听取乐视网高管团队汇报 将对新战略进行部署</a><br />
		<a href="https://wap.ikanchai.com/?action=show&amp;contentid=151985">乐视网：袁斌升任上市体系CTO 刘淑青任高级副总裁</a><br />
		<a href="https://wap.ikanchai.com/?action=show&amp;contentid=151728">梁军连发任命邮件：融创刘淑青出任乐视网高级副总裁</a><br />
		<a href="https://wap.ikanchai.com/?action=show&amp;contentid=151413">融创质押乐视网1.7亿股，输血房地产业务</a><br />
		<a href="https://wap.ikanchai.com/?action=show&amp;contentid=149996">抵大楼押豪宅背后：贾跃亭在美国究竟有多少套房</a><br />
		<a href="https://wap.ikanchai.com/?action=show&amp;contentid=149413">乐视网澄清债务问题 称二期公司债靠自有资金</a><br />
		<a href="https://wap.ikanchai.com/?action=show&amp;contentid=148967">乐视网重构：舍手机保电视 东山再起？</a><br />
		<a href="https://wap.ikanchai.com/?action=show&amp;contentid=148939">乐视架构调整：电视端与乐视网团队整合</a><br />
		<a href="https://wap.ikanchai.com/?action=show&amp;contentid=148199">建行降乐视员工信用卡额度真相：智能风控过度灵敏</a><br />
		<a href="https://wap.ikanchai.com/?action=show&amp;contentid=147411">乐视迷途：回不去的“生态之巅”</a><br />
		<a href="https://wap.ikanchai.com/?action=show&amp;contentid=147193">乐视网被诉至法院称将尽力付款 讨债工人已1年没工资</a><br />
		<a href="https://wap.ikanchai.com/?action=show&amp;contentid=146949">业绩滑坡、欠费被诉，乐视网“没问题”言之过早</a><br />
		<a href="https://wap.ikanchai.com/?action=show&amp;contentid=146849">科技晚报：乐视被追讨百万推广费  Siri与巨石强森合拍电影</a><br />
		<a href="https://wap.ikanchai.com/?action=show&amp;contentid=146743">乐视网被追讨百万推广费，因视频广告未付费</a><br />
		<a href="https://wap.ikanchai.com/?action=show&amp;contentid=146701">讨债者支帐篷盯守乐视大厦 贾跃亭一旦回公司难脱身</a><br />
		<a href="https://wap.ikanchai.com/?action=show&amp;contentid=146352">孙宏斌善后：关联交易、股权质押恶果显现，能重振乐视吗？</a><br />
		<a href="https://wap.ikanchai.com/?action=show&amp;contentid=145828">乐视网版权欠款12.55亿元 华策影视是其最大债主</a><br />
		<a href="https://wap.ikanchai.com/?action=show&amp;contentid=145772">乐视网版权欠款12.55亿元 华策影视称考虑收回重售</a><br />
		<a href="https://wap.ikanchai.com/?action=show&amp;contentid=145594">乐视网公告称再次延期复牌 已停牌仨月</a><br />
		<a href="https://wap.ikanchai.com/?action=show&amp;contentid=145559">乐视网进入孙宏斌时代 股价危机仍高悬</a><br />
		<a href="https://wap.ikanchai.com/?action=show&amp;contentid=145491">股东会门前20家供应商讨债 乐视:贾跃亭还在海外融资</a><br />
		<a href="https://wap.ikanchai.com/?action=show&amp;contentid=145383">乐视网股东大会将召开产生新掌门 乐视还能翻盘吗？</a><br />
		<a href="https://wap.ikanchai.com/?action=show&amp;contentid=145359">乐视网上半年同比转亏，预计亏损至少6.3亿元</a><br />
		<a href="https://wap.ikanchai.com/?action=show&amp;contentid=145316">乐视网切割贾跃亭时代 “新董事长”背负注资预期</a><br />
		<a href="https://wap.ikanchai.com/?action=show&amp;contentid=144289">揭秘乐视5大烧钱方法：不到7年烧掉1500亿！</a><br />
		<a href="https://wap.ikanchai.com/?action=show&amp;contentid=144200">乐视网将面临1.65亿元债息压力 估值或将陆续下降</a><br />
		<a href="https://wap.ikanchai.com/?action=show&amp;contentid=144192">乐视网估值被下调，贾跃亭的麻烦远不止这么多！</a><br />
		<a href="https://wap.ikanchai.com/?action=show&amp;contentid=144146">贾跃亭走了 参投的财通、嘉实、中邮基金怎么办？</a><br />
		<a href="https://wap.ikanchai.com/?action=show&amp;contentid=144107">贾跃亭一走！  多家基金急忙下调乐视网估值</a><br />
		<a href="https://wap.ikanchai.com/?action=show&amp;contentid=144105">中邮基金踩雷乐视网 持股市值超12亿停牌前还在建仓</a><br />
		<a href="https://wap.ikanchai.com/?action=show&amp;contentid=143861">贾跃亭请辞乐视网董事长但仍为控股股东，将出任乐视汽车生态董事长 </a><br />
		<a href="https://wap.ikanchai.com/?action=show&amp;contentid=143659">乐视网：贾跃亭所持股份被冻结与公司无关，不影响正常经营与管理</a><br />
		<a href="https://wap.ikanchai.com/?action=show&amp;contentid=143229">从易到易主这件事，看乐视系股权更迭大戏</a><br />
		<a href="https://wap.ikanchai.com/?action=show&amp;contentid=143112">乐视修改公司章程 并于7月17日召开临时股东会议</a><br />
		<a href="https://wap.ikanchai.com/?action=show&amp;contentid=142579">贾跃亭的“生态化反”被遗弃了？乐视硬件业务提价后的出路在哪</a><br />
		<a href="https://wap.ikanchai.com/?action=show&amp;contentid=141696">1.7亿解决纠纷！青雨传媒、乐视、《猎场》三方都拖不起了</a><br />
		<a href="https://wap.ikanchai.com/?action=show&amp;contentid=139826">梁军搭建乐视网新班子 重用三位老将</a><br />
		<a href="https://wap.ikanchai.com/?action=show&amp;contentid=138451">孙宏斌那么爱“烂尾楼”，投资乐视也是为换个方式拿地？</a><br />
		<a href="https://wap.ikanchai.com/?action=show&amp;contentid=138064">乐视网20亿公司债终止发行|蓝鲸TMT早报</a><br />
		<a href="https://wap.ikanchai.com/?action=show&amp;contentid=135786">孙宏斌进入乐视后，贾跃亭更难的一百天</a><br />
		<a href="https://wap.ikanchai.com/?action=show&amp;contentid=134834">曾靠生态支撑股价的乐视网 要在复牌前割断负面影响</a><br />
		<a href="https://wap.ikanchai.com/?action=show&amp;contentid=134735">乐视网总经理“前世今生”：生态化反还能走多远</a><br />
		<a href="https://wap.ikanchai.com/?action=show&amp;contentid=132233">科技晚报：网酒网“闪退”新三板  宣亚收购映客直播</a><br />
		<a href="https://wap.ikanchai.com/?action=show&amp;contentid=129799">乐视网最新股权曝光：鑫根资本退出 贾跃亭持股25%</a><br />
		<a href="https://wap.ikanchai.com/?action=show&amp;contentid=129007">贾布斯：乐视86亿元应收账款谜局？</a><br />
		<a href="https://wap.ikanchai.com/?action=show&amp;contentid=128487">乐视网的输血游戏:净利润下降 少数股东亏损达7.77亿</a><br />
		<a href="https://wap.ikanchai.com/?action=show&amp;contentid=128380">乐视网的输血游戏:净利润下降 少数股东亏损达7.77亿</a><br />
		<a href="https://wap.ikanchai.com/?action=show&amp;contentid=127781">一言不合就停牌 乐视拟为推进重大资产重组</a><br />
		<a href="https://wap.ikanchai.com/?action=show&amp;contentid=127780">科技晚报：蚂蚁金服加价并购速汇金 老虎基金无情抛弃唯品会</a><br />
		<a href="https://wap.ikanchai.com/?action=show&amp;contentid=123636">没钱还债，乐视致新将仁宝电脑这个债主变成了股东</a><br />
		<a href="https://wap.ikanchai.com/?action=show&amp;contentid=123600">要钱没有，要股一堆？乐视又把一个债主变成了股东</a><br />
		<a href="https://wap.ikanchai.com/?action=show&amp;contentid=121079">为美化财报，乐视商城无奈被弃</a><br />
		<a href="https://wap.ikanchai.com/?action=show&amp;contentid=120143">乐视网今日股价创阶段新低  鑫根疑似多次减持套现</a><br />
		<a href="https://wap.ikanchai.com/?action=show&amp;contentid=119621">贾跃亭的“中国好同学”，为何因投资乐视被“兴师问罪”？</a><br />
		<a href="https://wap.ikanchai.com/?action=show&amp;contentid=117152">乐视网复牌上涨3.20% 或因大笔资金注入抬高股价</a><br />
		<a href="https://wap.ikanchai.com/?action=show&amp;contentid=116252">乐视网今日复牌 涨停OR补跌？</a><br />
		<a href="https://wap.ikanchai.com/?action=show&amp;contentid=115326">乐视网复牌“大限将至”   “钱”途危机仍难化解</a><br />
		<a href="https://wap.ikanchai.com/?action=show&amp;contentid=113874">乐视百亿融资现端倪  杯水车薪可暂解燃眉之急</a><br />
		<a href="https://wap.ikanchai.com/?action=show&amp;contentid=112778">爱奇艺计划IPO，乐视网知道后表示想静静</a><br />
		<a href="https://wap.ikanchai.com/?action=show&amp;contentid=112629">乐视网称正与战略投资方沟通：已开展尽职调查，筹备相关文件</a><br />
		<a href="https://wap.ikanchai.com/?action=show&amp;contentid=111550">乐视网新一轮引资将采用定增 战略投资者或为政府</a><br />
		<a href="https://wap.ikanchai.com/?action=show&amp;contentid=111318">乐视网正筹划引入战略投资者，缓解资金饥渴</a><br />
		<a href="https://wap.ikanchai.com/?action=show&amp;contentid=111242">乐视网停牌“装死” 万千韭菜齐哭晕</a><br />
		<a href="https://wap.ikanchai.com/?action=show&amp;contentid=111167">乐视网披露收购乐视影业进展 更多后招或待出</a><br />
		<a href="https://wap.ikanchai.com/?action=show&amp;contentid=111041">炸裂！乐视网“二股东”有意见了，贾跃亭回：不好意思，您哪位？</a><br />
		<a href="https://wap.ikanchai.com/?action=show&amp;contentid=110311">乐视网“二股东”曾强：转机全在贾总一念间</a><br />
		<a href="https://wap.ikanchai.com/?action=show&amp;contentid=109992">乐视网回应平仓危机传闻：与事实不符 纯属臆测</a><br />
		<a href="https://wap.ikanchai.com/?action=show&amp;contentid=109958">乐视网拟披露重大事项 今日起临时停牌</a><br />
		<a href="https://wap.ikanchai.com/?action=show&amp;contentid=106483">从年度推介会看乐视能否上演“罪夜之奔”</a><br />
		<a href="https://wap.ikanchai.com/?action=show&amp;contentid=106227">乐视网高管挺身救主，拟增持不低于3亿元</a><br />
		<a href="https://wap.ikanchai.com/?action=show&amp;contentid=106069">乐视网“行贿”罗生门，谁在说谎？</a><br />
		<a href="https://wap.ikanchai.com/?action=show&amp;contentid=105629"> 乐视网公告：未拖欠供应商款项 乐视影业年内无法完成注入</a><br />
		<a href="https://wap.ikanchai.com/?action=show&amp;contentid=105278">网传乐视无法支付供应商百亿欠款  贾跃亭承认存资金面压力</a><br />
		<a href="https://wap.ikanchai.com/?action=show&amp;contentid=105276">乐视网股价暴跌55亿资金恐慌出逃 多项财务指标传递缺钱信号</a><br />
		<a href="https://wap.ikanchai.com/?action=show&amp;contentid=104709">乐视回应拖欠货款：公司业务运转良好 自媒体恶意抹黑</a><br />
		<a href="https://wap.ikanchai.com/?action=show&amp;contentid=96097">乐视终端以及会员费收入之谜</a><br />
		<a href="https://wap.ikanchai.com/?action=show&amp;contentid=94012">影视类重组没剩几家了 乐视会笑到最后吗？</a><br />
		<a href="https://wap.ikanchai.com/?action=show&amp;contentid=93746">生态玩转IP 影视文娱产业迎来价值重构新机遇</a><br />
		<a href="https://wap.ikanchai.com/?action=show&amp;contentid=82823">乐视网“接盘侠”曝光   中信证券买入近7亿成最大救星</a><br />
		<a href="https://wap.ikanchai.com/?action=show&amp;contentid=48301">乐视补贴5亿元发力大屏营销，意欲何为？</a><br />
		<a href="https://wap.ikanchai.com/?action=show&amp;contentid=31488">妙棋or烂棋？看乐视生态电商无中生有的崛起</a><br />
		<a href="https://wap.ikanchai.com/?action=show&amp;contentid=31338">乐视网同步院线全球独播《小时代4》，开启三个全新时代</a><br />
		<a href="https://wap.ikanchai.com/?action=show&amp;contentid=19668">老虎嘴上拔毛!乐视为何当众呛广电总局</a><br />
		<a href="https://wap.ikanchai.com/?action=show&amp;contentid=15669">勾魂药：哪个汽车大牌敢约乐视玩生态</a><br />
		<a href="https://wap.ikanchai.com/?action=show&amp;contentid=15222">从点到链：坏小子乐视的生态营销揭秘</a><br />
		<a href="https://wap.ikanchai.com/?action=show&amp;contentid=14800">乐视网股价如火箭升空,为何却质疑不断？</a><br />
		<a href="https://wap.ikanchai.com/?action=show&amp;contentid=13941">科技四小龙分化 乐视网如何实现360两倍市值？</a><br />
		<a href="https://wap.ikanchai.com/?action=show&amp;contentid=9373">一周互联网：令案阴影下乐视网将何去何从？</a><br />
		<a href="https://wap.ikanchai.com/?action=show&amp;contentid=4755">乐视网签收中宣部能否打消资本市场的疑虑？</a><br />
		</p>
<p><anchor title="返回"><prev/>&lt;返回</anchor><br /><br /><a href="https://wap.ikanchai.com/" title="返回首页">&lt;返回首页</a></p>
<p align="center">Copyright CmsTop.com<br />2026年04月14日 01:20:22</p></card>
</wml>