<?xml version="1.0" encoding="UTF-8"?><!DOCTYPE wml PUBLIC "-//WAPFORUM//DTD WML 1.1//EN" "http://www.wapforum.org/DTD/wml_1.1.xml">
<wml>
<head> 
<meta http-equiv="Expires" content="0"/> 
<meta http-equiv="Cache-Control" content="no-cache"/> 
<meta http-equiv="Pragma" content="no-cache"/> 
</head>
<card title="票房近50亿元的《战狼2》 能否挽救它背后的保险公司？_砍柴网">
	<p><a href="https://wap.ikanchai.com/">首页</a> &gt; <a href="https://wap.ikanchai.com/?action=category&amp;catid=42">科技头条</a> &gt; <a href="https://wap.ikanchai.com/?action=category&amp;catid=41">新能源</a> &gt; </p>
	<p align="center"><big>票房近50亿元的《战狼2》 能否挽救它背后的保险公司？</big></p>
	<p align="right">2017-08-19 10:51</p>
	<p><p align="center"><img src="http://upload.ikanchai.com/2017/0819/1503111111539.jpg" /></p><br />
图片来源：视觉中国<br />
虽然近几日票房逐渐缩水，但是对于已经接近49亿的《战狼2》来说，创造50亿的票房记录只是时间问题。<br />
在《战狼2》票房持续上涨期间，为其保底8亿的上市公司北京文化已经经历了一轮暴涨。不难发现，这两年来市场上还敢持续为影片开高价保底并且还屡战屡胜的公司，似乎只剩下北京文化一家。在去年8亿保底《战狼2》之后，又马不停蹄5亿保底《二代妖精》（原名：《一代妖精》）。<br />
北京文化为什么有这么大的底气？这离不开其背后的财主&mdash;&mdash;富德生命人寿保险股份有限公司（下称富德生命人寿）。<br />
2014年末，富德生命人寿认购了北京文化非公开发行1.52亿股，持股比例达20.38%，成为公司当时的第一大股东，而目前其为北京文化的第二大股东。实际上，北京文化现任董事长宋歌便曾是富德生命人寿旗下厚德前海基金的管理人。<br />
<p align="center"><img src="http://upload.ikanchai.com/2017/0819/1503111111467.jpg" /></p>北京文化的股东<br />
富德生命人寿是谁？对于影视圈的人来说，这个名字并不熟悉。不过，如果壹娱观察（微信ID:yiyuguancha）告诉你，其目前是金地集团流通股最大股东，曾经耗资600多亿连续举牌浦发银行成为其名义上的第一大股东，还曾是贵州茅台流通股第四大股东以及众多国有银行的前十大股东，你对这个公司是不是要另眼相看了？<br />
富德生命人寿公司注册资本117.52亿元，总资产近4500亿元，2017年上半年保费收入超过600亿人民币。富德生命人寿的母公司富德集团发迹于深圳，目前其旗下不仅有众多金融企业，还涉足地产、矿业、资管等业务，但是其实际控制人张骏却较为低调，网上照片都难以寻觅，早年就有传闻这位大佬个人财富超过800亿港元。<br />
<p align="center"><img src="http://upload.ikanchai.com/2017/0819/1503111111679.jpg" /></p><br />
近两年来，文化体育界成为了富德集团资本渗透的主要方向之一，最为典型的除了入股北京文化，就是2015年以5年10个亿的价格，拥有延边长白山俱乐部70%股份。随后俱乐部更名为&ldquo;延边富德足球俱乐部有限公司&rdquo;，这就是目前征战中超的&ldquo;延边富德&rdquo;。<br />
实际上，在影视圈，富德生命人寿不仅是北京文化的第二大股东，与北京文化经常合作的工夫影业和聚合影联，背后与富德生命人寿的关系也异常密切。<br />
工夫影业的股东中，有一家叫重庆水木诚德文化股权投资基金合伙企业，这家公司也曾经是聚合影联的股东；水木诚德的股东又分别是重庆水木庆华股权投资基金合伙企业、深圳市厚德前海古钱投资基金合伙企业与重庆水木兴华股权投资基金管理有限公司，而这三家公司都是富德生命人寿的子公司。<br />
<p align="center"><img src="http://upload.ikanchai.com/2017/0819/1503111111603.jpg" /></p><br />
除了电影《战狼2》，近期大火的网剧《河神》，联合出品方中不仅有工夫影业，还有南京摩影盒文化传媒有限公司投资的无锡摩影盒文化传媒有限公司，而南京摩影盒的股东又是重庆水木诚德文化股权投资合伙企业。<br />
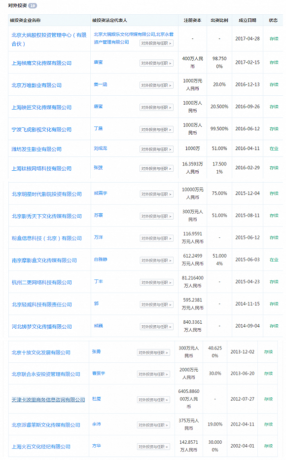
除了北京文化、聚合影联、摩影盒文化，&ldquo;富德系&rdquo;的水木诚德还投资了大量的文化影视公司，包括幕影幽歌影业有限公司、北京万唯影业有限公司、上海候鹰文化传媒有限公司、上海映匠文化传媒有限公司、宁波飞虎影视文化有限公司，北京派睿莱斯文化传媒有限公司、北京影秀天下文化传媒有限公司、潍坊发生影业有限公司等等。<br />
<p align="center"><img src="http://upload.ikanchai.com/2017/0819/1503111111163.jpg" /></p><br />
而通过投资这些公司，&ldquo;富德系&rdquo;已经形成了对影视全产业链的投资脉络。世纪伙伴主攻电视剧版块；星河文化主攻艺人业务；摩天轮文化传媒主攻电影、综艺；工夫影业在尝试从网剧方面等网络影视方面发展；发生影业是一家以年轻团队为主的编剧公司&mdash;&mdash;这种从剧本、拍摄、制作、发行全流程的控制，利用资本将优质资源进行了整合，从而形成以电影、电视剧、综艺、网络影视、艺人经纪协同发展的全产业链布局。<br />
不过，在大举进入影视圈之时，原&ldquo;富德系&rdquo;的实际控制人张骏2016年曾被带走调查，半年后被爆返回家中，现在行踪仍然扑朔迷离，坊间传闻不断。<br />
在张骏被带走后，保监会入驻富德生命人寿。尔后在保险业的风险综合评级上，富德生命人寿也被评为最低的D档。在今年上半年，富德生命人寿巨亏29亿元，成为行业利润倒数第一，净资产缩水到120亿元；而今年公布的富德生命人寿第二季度偿付能力报告中，其综合偿付能力充足率从去年年底的108%降到104%，已经接近100%的红线，且富德生命人寿目前仍然未收到2016年第四季度以及2017年第一季度监管的评级结果。<br />
虽然&ldquo;富德系&rdquo;实力雄厚，但是对于富德生命人寿来说，《战狼2》的大获成功，可以说是公司最近唯一的好消息了。不过，作为北京文化第二大股东的富德生命人寿，最终能从中获利多少，现在仍然不得而知，但是《战狼2》的票房成绩，或许会推动在影视圈雄心勃勃的&ldquo;富德系&rdquo;，继续在业内大举收购与布局。<br />
【来源：壹娱观察&nbsp; &nbsp; &nbsp; &nbsp; &nbsp; &nbsp; &nbsp; &nbsp; 作者：年华】<br /></p>
		<p><a href="https://wap.ikanchai.com/?action=comment&amp;contentid=152873">共有评论0条</a></p>
	<p>
	<p>相关推荐</p>
		<a href="https://wap.ikanchai.com/?action=show&amp;contentid=464947">影片《长津湖之水门桥》票房突破20亿</a><br />
		<a href="https://wap.ikanchai.com/?action=show&amp;contentid=248290">《毒液》在华首日票房近2.4亿，漫威的反派英雄将成就索尼的电影宇宙?</a><br />
		<a href="https://wap.ikanchai.com/?action=show&amp;contentid=239951">票房下跌21.4%，是谁赶跑了国庆档影院的观众？</a><br />
		<a href="https://wap.ikanchai.com/?action=show&amp;contentid=233380">2018暑期档动画票房下滑34.5%，国漫难崛起，低幼向再回主流</a><br />
		<a href="https://wap.ikanchai.com/?action=show&amp;contentid=233119">盘点2018年暑期档，《我不是药神》等爆款的诞生有哪些秘诀？</a><br />
		<a href="https://wap.ikanchai.com/?action=show&amp;contentid=232296">复盘“被保护”的暑期档：题材全面开花、口碑与票房渐成正比</a><br />
		<a href="https://wap.ikanchai.com/?action=show&amp;contentid=226756">喜剧片为何能称霸中国电影市场</a><br />
		<a href="https://wap.ikanchai.com/?action=show&amp;contentid=220116">我们离全民pick出的电影奖项还有多远？</a><br />
		<a href="https://wap.ikanchai.com/?action=show&amp;contentid=214270">1天4亿！怎么就是看不腻？</a><br />
		<a href="https://wap.ikanchai.com/?action=show&amp;contentid=214194">通过“大规模退票”事件 我们再来看一看电影票房分账规则</a><br />
		<a href="https://wap.ikanchai.com/?action=show&amp;contentid=213564">《复联3》继续领跑北美周末票房 是最快破10亿的电影</a><br />
		<a href="https://wap.ikanchai.com/?action=show&amp;contentid=208388">2022年票房将超900亿 如何把握行业未来增长点</a><br />
		<a href="https://wap.ikanchai.com/?action=show&amp;contentid=207751">“不自由”的影片上映日期，票房高低的另一种思考</a><br />
		<a href="https://wap.ikanchai.com/?action=show&amp;contentid=206789">一季度票房202.17亿同比增40%，国产片占比高达74.2%</a><br />
		<a href="https://wap.ikanchai.com/?action=show&amp;contentid=206264">国内电影票房再破纪录 机构看好7只受益龙头股</a><br />
		<a href="https://wap.ikanchai.com/?action=show&amp;contentid=206262">国内电影票房再破纪录 机构看好7只受益龙头股</a><br />
		<a href="https://wap.ikanchai.com/?action=show&amp;contentid=206074">四天破亿的《起跑线》，能否医治中产阶级的教育焦虑症？</a><br />
		<a href="https://wap.ikanchai.com/?action=show&amp;contentid=205662">为什么我说《头号玩家》能破10亿</a><br />
		<a href="https://wap.ikanchai.com/?action=show&amp;contentid=205412">一季度票房202.17亿同比增40%，国产片占比高达74.2%</a><br />
		<a href="https://wap.ikanchai.com/?action=show&amp;contentid=205395">3月票房又创历史纪录，今年会不会是另一个2016</a><br />
		<a href="https://wap.ikanchai.com/?action=show&amp;contentid=204542">中国票房能达到本土十倍，年内第三部印度电影将在国内上映</a><br />
		<a href="https://wap.ikanchai.com/?action=show&amp;contentid=203713">三四线票房崛起，中国电影拿什么俘获“小镇青年”？</a><br />
		<a href="https://wap.ikanchai.com/?action=show&amp;contentid=202438">票房从8亿到33.3亿，唐人街探案爆红的背后</a><br />
		<a href="https://wap.ikanchai.com/?action=show&amp;contentid=201765">2018年中国总票房要破700亿，靠什么？流量明星？</a><br />
		<a href="https://wap.ikanchai.com/?action=show&amp;contentid=201724">票房10亿美元的《黑豹》、50亿人民币的《战狼2》，为何出国集体哑火？</a><br />
		<a href="https://wap.ikanchai.com/?action=show&amp;contentid=201343">《黑豹》上映两天票房破3亿，但难破“超级英雄”票房瓶颈</a><br />
		<a href="https://wap.ikanchai.com/?action=show&amp;contentid=199879">北京文化获《战狼2》回款3亿 市值为何却减少55亿？</a><br />
		<a href="https://wap.ikanchai.com/?action=show&amp;contentid=199856">票房高涨背后的资本角逐 多家上市公司深度参与</a><br />
		<a href="https://wap.ikanchai.com/?action=show&amp;contentid=199598">春节档单月票房突破百亿，“情绪营销”下的资本狂欢</a><br />
		<a href="https://wap.ikanchai.com/?action=show&amp;contentid=199574">春节总票房超76亿元说明：观众醒了，中国电影才不会装睡</a><br />
		<a href="https://wap.ikanchai.com/?action=show&amp;contentid=199115">七天票房超过57亿，“史上最强春节档”是如何炼成的？</a><br />
		<a href="https://wap.ikanchai.com/?action=show&amp;contentid=197565">春节63亿票房背后：单日冠军两次易主 六部电影共有百家出品方</a><br />
		<a href="https://wap.ikanchai.com/?action=show&amp;contentid=197539">春节档创纪录，但《红海行动》仍敌不过发行阵容强大的《战狼2》</a><br />
		<a href="https://wap.ikanchai.com/?action=show&amp;contentid=197535">单日票房超13亿破纪录，然后呢？</a><br />
		<a href="https://wap.ikanchai.com/?action=show&amp;contentid=197531">春节档总票房55亿创造历史，复盘我们眼中的四大变化</a><br />
		<a href="https://wap.ikanchai.com/?action=show&amp;contentid=197529">《红海行动》单日票房超《捉妖记2》 上座率超《唐探2》</a><br />
		<a href="https://wap.ikanchai.com/?action=show&amp;contentid=197466">遭专资办打脸，猫眼专业版数据被指不专业？</a><br />
		<a href="https://wap.ikanchai.com/?action=show&amp;contentid=197363">七天票房超过57亿，“史上最强春节档”是如何炼成的？</a><br />
		<a href="https://wap.ikanchai.com/?action=show&amp;contentid=197333">北京已掉队，谁是过去两年票房增长最快的省份？</a><br />
		<a href="https://wap.ikanchai.com/?action=show&amp;contentid=197324">2018大年初一票房半日破十亿 没什么能限制中国观众的消费力</a><br />
		<a href="https://wap.ikanchai.com/?action=show&amp;contentid=197145">中国电影单日票房创新纪录 淘票票市场份额大幅提升</a><br />
		<a href="https://wap.ikanchai.com/?action=show&amp;contentid=197142">近13亿的初一市场：三四线的高上座率和8.5分的《红海行动》</a><br />
		<a href="https://wap.ikanchai.com/?action=show&amp;contentid=197049">猫眼睁了，娱票儿没了，在线票务两强来了</a><br />
		<a href="https://wap.ikanchai.com/?action=show&amp;contentid=194733">全年票房跌宕起伏，透过2017年电影市场，看到了什么商机？</a><br />
		<a href="https://wap.ikanchai.com/?action=show&amp;contentid=194678">初一预售票房近9000万 单日能否突破10亿大关？</a><br />
		<a href="https://wap.ikanchai.com/?action=show&amp;contentid=194614">从5亿到22亿，为什么《前任3》的票房预测一直被打脸？</a><br />
		<a href="https://wap.ikanchai.com/?action=show&amp;contentid=193897">初一预售票房近9000万 单日能否突破10亿大关？</a><br />
		<a href="https://wap.ikanchai.com/?action=show&amp;contentid=193298">《神秘巨星》收割了票房，印度大片的引进价格也变贵了</a><br />
		<a href="https://wap.ikanchai.com/?action=show&amp;contentid=192191">星战8票房遇冷： 内地院线11天票房才是北美两个首日</a><br />
		<a href="https://wap.ikanchai.com/?action=show&amp;contentid=192161">票房挺进14亿，《芳华》的奇迹之路是怎么走出来的？</a><br />
		<a href="https://wap.ikanchai.com/?action=show&amp;contentid=192096">《大世界》首周票房仅百万，小众动画注定没有票房大爆的可能性？</a><br />
		<a href="https://wap.ikanchai.com/?action=show&amp;contentid=192089">《星战8》内地票房不及《前任3》一半，北美超级IP在中国再次遇冷？</a><br />
		<a href="https://wap.ikanchai.com/?action=show&amp;contentid=191218">550亿票房难掩“跌宕”现状 国产电影冷热反差现象突出</a><br />
		<a href="https://wap.ikanchai.com/?action=show&amp;contentid=190848">《前任3》的意外十亿之路：一场小镇青年打脸数据与常识的狂欢</a><br />
		<a href="https://wap.ikanchai.com/?action=show&amp;contentid=190337">《星战8》内地票房不及《前任3》一半，北美超级IP在中国再次遇冷？</a><br />
		<a href="https://wap.ikanchai.com/?action=show&amp;contentid=190334">《前任3》13亿票房如脱缰野马，小镇青年引燃这场狂欢</a><br />
		<a href="https://wap.ikanchai.com/?action=show&amp;contentid=190289">5.3亿的“前任”：乌兰察布两家影院进票房TOP10</a><br />
		<a href="https://wap.ikanchai.com/?action=show&amp;contentid=190287">元旦档电影票房创历史新高 “小城青年”成消费增长点</a><br />
		<a href="https://wap.ikanchai.com/?action=show&amp;contentid=190269">陈凯歌晚节不保？ 《妖猫传》疑大量买票房</a><br />
		<a href="https://wap.ikanchai.com/?action=show&amp;contentid=190219">北京文化保底5亿《二代妖精》票房多少才算成功？</a><br />
		<a href="https://wap.ikanchai.com/?action=show&amp;contentid=190212">万达给出四分之一排片，为何《解忧杂货店》元旦档仍然垫底 ？</a><br />
		<a href="https://wap.ikanchai.com/?action=show&amp;contentid=190134">2017中国票房559亿增14% 全球第一大市场北美跌4%</a><br />
		<a href="https://wap.ikanchai.com/?action=show&amp;contentid=189908">《前任3》13亿票房如脱缰野马，小镇青年引燃这场狂欢</a><br />
		<a href="https://wap.ikanchai.com/?action=show&amp;contentid=189720">优酷公司起诉多家公司维权：称“战狼Ⅱ”被侵权</a><br />
		<a href="https://wap.ikanchai.com/?action=show&amp;contentid=189518">《星战8》内地票房不及《前任3》一半，北美超级IP在中国再次遇冷？</a><br />
		<a href="https://wap.ikanchai.com/?action=show&amp;contentid=189227">票房与口碑成正比 2017中国电影成绩喜人</a><br />
		<a href="https://wap.ikanchai.com/?action=show&amp;contentid=188559">姜文、张艺谋、贾樟柯都坐不住了，今年国产电影准备放大招！</a><br />
		<a href="https://wap.ikanchai.com/?action=show&amp;contentid=188223">投资1.3亿14天票房破10亿 《芳华》能给冯小刚赚多少？</a><br />
		<a href="https://wap.ikanchai.com/?action=show&amp;contentid=188220">投资1.3亿14天票房破10亿 《芳华》能给冯小刚赚多少？</a><br />
		<a href="https://wap.ikanchai.com/?action=show&amp;contentid=188179">国内年终票房将破550亿，“好成绩”背后的喜与忧</a><br />
		<a href="https://wap.ikanchai.com/?action=show&amp;contentid=188065">中国2018年票房有望冲击600亿 青年导演与多元类型渐成主流</a><br />
		<a href="https://wap.ikanchai.com/?action=show&amp;contentid=188064">中国2018年票房有望冲击600亿 青年导演与多元类型渐成主流</a><br />
		<a href="https://wap.ikanchai.com/?action=show&amp;contentid=188056">院线电影版权监测前置已成趋势 版权保护是票房保证</a><br />
		<a href="https://wap.ikanchai.com/?action=show&amp;contentid=186492">中国票房帝国背后，550亿“好成绩”背后的喜与忧</a><br />
		<a href="https://wap.ikanchai.com/?action=show&amp;contentid=185983">《芳华》最终预测票房有望破8亿，华谊这次赌对了什么？</a><br />
		<a href="https://wap.ikanchai.com/?action=show&amp;contentid=185944">上映7天累计票房5.77亿，《芳华》大火，被称为冯小刚史上最佳电影</a><br />
		<a href="https://wap.ikanchai.com/?action=show&amp;contentid=185939">《芳华》6天破5亿，冯小刚“对赌”要赢了，可更多公司还躺在雪地里</a><br />
		<a href="https://wap.ikanchai.com/?action=show&amp;contentid=185903">电影贺岁档质量趋好值得期待 550亿元票房还有多远</a><br />
		<a href="https://wap.ikanchai.com/?action=show&amp;contentid=185538">《芳华》仅用半天就逆袭《奇门遁甲》，靠的是口碑？</a><br />
		<a href="https://wap.ikanchai.com/?action=show&amp;contentid=185535">上映2天《芳华》票房破2亿，其或将是冯小刚最好的一部作品</a><br />
		<a href="https://wap.ikanchai.com/?action=show&amp;contentid=185292">中国电影下半场，淘票票重构市场的阿里逻辑是什么？</a><br />
		<a href="https://wap.ikanchai.com/?action=show&amp;contentid=183839">《寻梦》24日逆袭记：皮克斯中国首部10亿+电影是怎么达成的？</a><br />
		<a href="https://wap.ikanchai.com/?action=show&amp;contentid=182047">阿里、腾讯双寡头格局，在线票务仍然痛点横生？</a><br />
		<a href="https://wap.ikanchai.com/?action=show&amp;contentid=181133">迎来阿里腾讯双寡头格局的在线票务仍然痛点横生？</a><br />
		<a href="https://wap.ikanchai.com/?action=show&amp;contentid=180549">《寻梦环游记》吸金2610万 再次登顶北美周末票房</a><br />
		<a href="https://wap.ikanchai.com/?action=show&amp;contentid=180204">《寻梦环游记》票房逆袭成皮克斯内地最卖座影片</a><br />
		<a href="https://wap.ikanchai.com/?action=show&amp;contentid=179265">2020年中国电影市场目标达到700亿票房，他诚恳地说了一句“大家都多操点心吧”</a><br />
		<a href="https://wap.ikanchai.com/?action=show&amp;contentid=177825">中国电影500亿票房背后，市场还有哪些新变化？</a><br />
		<a href="https://wap.ikanchai.com/?action=show&amp;contentid=176648">全国年度票房突破500亿元 国产片占比52.4％</a><br />
		<a href="https://wap.ikanchai.com/?action=show&amp;contentid=176642">我们除了为500亿欣喜，还有观众认可和培育的另一方沃土</a><br />
		<a href="https://wap.ikanchai.com/?action=show&amp;contentid=176177">好莱坞的电影票房是如何分账的？</a><br />
		<a href="https://wap.ikanchai.com/?action=show&amp;contentid=175972">500亿元！2017年全国电影票房刷新纪录</a><br />
		<a href="https://wap.ikanchai.com/?action=show&amp;contentid=175338">《雷神3》中国票房再次领跑全球，国产电影为何难以满足观众的口味？</a><br />
		<a href="https://wap.ikanchai.com/?action=show&amp;contentid=171781">迪士尼要分院线70%的票房，它哪里来的底气？</a><br />
		<a href="https://wap.ikanchai.com/?action=show&amp;contentid=171762">院线Q3盘点：票房大增业绩难涨，万达领先优势进一步缩水</a><br />
		<a href="https://wap.ikanchai.com/?action=show&amp;contentid=171725">票房普遍惨淡 老电影重映能靠情怀撑多久</a><br />
		<a href="https://wap.ikanchai.com/?action=show&amp;contentid=171721">票房普遍惨淡 老电影重映能靠情怀撑多久</a><br />
		<a href="https://wap.ikanchai.com/?action=show&amp;contentid=169972">《银翼杀手》票房惨败，预示了《三体》等国产科幻怎样的未来？</a><br />
		<a href="https://wap.ikanchai.com/?action=show&amp;contentid=169969">《银翼杀手》票房惨败，预示了《三体》等国产科幻怎样的未来？</a><br />
		<a href="https://wap.ikanchai.com/?action=show&amp;contentid=169385">鸡蛋不放在一个篮子里 影视公司探索非票房收入显成效</a><br />
		<a href="https://wap.ikanchai.com/?action=show&amp;contentid=168963">王俊凯、鹿晗、李易峰当电影大使，真的能让票房更高吗？</a><br />
		<a href="https://wap.ikanchai.com/?action=show&amp;contentid=168905">《银翼杀手2049》票房差强人意 中国观影人群分化明显</a><br />
		<a href="https://wap.ikanchai.com/?action=show&amp;contentid=168321">3D风波之外，口碑爆棚的《银翼杀手2049》为何票房惨败？</a><br />
		<a href="https://wap.ikanchai.com/?action=show&amp;contentid=168188">今年内地票房超去年 明星特效套路片法宝失灵</a><br />
		<a href="https://wap.ikanchai.com/?action=show&amp;contentid=167950">国庆后票房延续高增速 11月总票房将破500亿</a><br />
		<a href="https://wap.ikanchai.com/?action=show&amp;contentid=166194">五年电影票房翻番背后：“重塑”电影全产业链</a><br />
		<a href="https://wap.ikanchai.com/?action=show&amp;contentid=165539">毫无流量明星的《天才枪手》，为什么票房能破亿？</a><br />
		<a href="https://wap.ikanchai.com/?action=show&amp;contentid=164676">复盘2017国庆档27.5亿票房背后的“五宗罪”</a><br />
		<a href="https://wap.ikanchai.com/?action=show&amp;contentid=164675">国庆档的票房“战争”：《空天猎》注水、《追龙》幽灵场爆满假象</a><br />
		<a href="https://wap.ikanchai.com/?action=show&amp;contentid=164668">凌晨三点，票房上涨数百万：26亿国庆档之下的这场暗战</a><br />
		<a href="https://wap.ikanchai.com/?action=show&amp;contentid=164667">“史上最强国庆档”？26亿票房“注水”至少5亿！</a><br />
		<a href="https://wap.ikanchai.com/?action=show&amp;contentid=163879">好莱坞去年在中国损失2.6亿，票房都去哪儿了？</a><br />
		<a href="https://wap.ikanchai.com/?action=show&amp;contentid=163634">《战狼2》参选奥斯卡被唱衰 商业片无法承担文化输出重任？</a><br />
		<a href="https://wap.ikanchai.com/?action=show&amp;contentid=163566">国庆大盘+电影质量双破纪录，但是没有1个亿的注水会更好</a><br />
		<a href="https://wap.ikanchai.com/?action=show&amp;contentid=163560">国庆档期：一记羞羞的铁拳 把一众竞争者打懵了</a><br />
		<a href="https://wap.ikanchai.com/?action=show&amp;contentid=163512">《空天猎》票房未达预期，吕建民的春秋时代这次玩砸了？</a><br />
		<a href="https://wap.ikanchai.com/?action=show&amp;contentid=162993">9月国产新片均票房仅121万 多部影片票房不足5万</a><br />
		<a href="https://wap.ikanchai.com/?action=show&amp;contentid=162277">今年上半年好莱坞电影内地票房大跳水，问题究竟出在哪？</a><br />
		<a href="https://wap.ikanchai.com/?action=show&amp;contentid=159500">为何《敦刻尔克》《血战钢锯岭》《比利林恩》票房差距这么大？</a><br />
		<a href="https://wap.ikanchai.com/?action=show&amp;contentid=158688">8月总票房74亿破纪录，动作片占74%，爱情片只有《三生三世》能打</a><br />
		<a href="https://wap.ikanchai.com/?action=show&amp;contentid=158080">一部战狼难掩国产影片窘境，五大民营电影公司均表现平平</a><br />
		<a href="https://wap.ikanchai.com/?action=show&amp;contentid=158035">电影评分网站遭 “抵制”，票房“锅”背的不合理</a><br />
		<a href="https://wap.ikanchai.com/?action=show&amp;contentid=157327">《死亡笔记》扑街 好莱坞“洗白”策略不再受欢迎</a><br />
		<a href="https://wap.ikanchai.com/?action=show&amp;contentid=157326">偷瞒票房遭举报 二十六家严重违规影院被曝光</a><br />
		<a href="https://wap.ikanchai.com/?action=show&amp;contentid=157322">暑期一“狼”独领先百片多平淡 主流电影市场亟待建立</a><br />
		<a href="https://wap.ikanchai.com/?action=show&amp;contentid=156287">《战狼2》拿下55亿票房后，电视剧版《战狼》能延续IP热度吗？</a><br />
		<a href="https://wap.ikanchai.com/?action=show&amp;contentid=156044">复盘暑期档：《战狼2》成唯一爆款，电影行业迎来新老交替</a><br />
		<a href="https://wap.ikanchai.com/?action=show&amp;contentid=154858">一年净亏9.59亿元，阿里影业的未来在哪？</a><br />
		<a href="https://wap.ikanchai.com/?action=show&amp;contentid=154368">《二十二》创1.4亿票房奇迹 淘票票甘当幕后英雄</a><br />
		<a href="https://wap.ikanchai.com/?action=show&amp;contentid=154128">80%的影片在亏损，国产电影怎样才能走出“炮灰”的困境？</a><br />
		<a href="https://wap.ikanchai.com/?action=show&amp;contentid=153956">横店影视IPO过会：战狼2是否能创造正能量风口</a><br />
		<a href="https://wap.ikanchai.com/?action=show&amp;contentid=153605">《敦刻尔克》激斗《战狼2》，到底跟欣赏水平有多大关系？</a><br />
		<a href="https://wap.ikanchai.com/?action=show&amp;contentid=153290">为什么暑期档其他国产片收入总和都不如《战狼2》？</a><br />
		<a href="https://wap.ikanchai.com/?action=show&amp;contentid=153272">“战狼现象”：在并非豪赌的赌局中大获全胜，电影市场寒冰渐融</a><br />
		<a href="https://wap.ikanchai.com/?action=show&amp;contentid=153259">北美票房市场现颓势： 50余部影片票房不足亿元</a><br />
		<a href="https://wap.ikanchai.com/?action=show&amp;contentid=153257">50亿和1亿，除了票房，我们看到的是市场潜力和观众的成熟！</a><br />
		<a href="https://wap.ikanchai.com/?action=show&amp;contentid=153001">《战狼2》票房50亿不代表国产电影迎来拐点</a><br />
		<a href="https://wap.ikanchai.com/?action=show&amp;contentid=152867">从《战狼2》看对赌协议是电影的救命药草or毒药</a><br />
		<a href="https://wap.ikanchai.com/?action=show&amp;contentid=152836">《战狼2》50亿票房推手：北京文化是“激进”保守者</a><br />
		<a href="https://wap.ikanchai.com/?action=show&amp;contentid=152828">《战狼2》50亿票房推手：北京文化是“激进”保守者</a><br />
		<a href="https://wap.ikanchai.com/?action=show&amp;contentid=152659">票房近50亿元的《战狼2》，能否挽救它背后的保险公司？</a><br />
		<a href="https://wap.ikanchai.com/?action=show&amp;contentid=152609">《二十二》1％的排片赢得口碑 次日超额完成目标票房</a><br />
		<a href="https://wap.ikanchai.com/?action=show&amp;contentid=152599">海润影业业绩陷入“四连亏” 需要提高眼力加强影片宣发</a><br />
		<a href="https://wap.ikanchai.com/?action=show&amp;contentid=152550">《战狼2》新媒体版权遭多家争抢，第三方版权运营有多大市场？</a><br />
		<a href="https://wap.ikanchai.com/?action=show&amp;contentid=152495">首页产业影视正文 在和《战狼2》口碑内容与“热门IP+流量明星”的正面交锋中，《三生三世》输得有多惨？</a><br />
		<a href="https://wap.ikanchai.com/?action=show&amp;contentid=152489">《二十二》单日票房破2000万，这个夏天到了中国电影真正的“拐点”</a><br />
		<a href="https://wap.ikanchai.com/?action=show&amp;contentid=152412">《战狼2》赢了资本？不，其实资本一直输给电影</a><br />
		<a href="https://wap.ikanchai.com/?action=show&amp;contentid=152395">《战狼2》新媒体版权遭争抢，第三方版权运营是啥</a><br />
		<a href="https://wap.ikanchai.com/?action=show&amp;contentid=152233">《战狼2》赢了资本？不，其实资本一直输给电影</a><br />
		<a href="https://wap.ikanchai.com/?action=show&amp;contentid=152128">在和《战狼2》口碑内容与“热门IP+流量明星”的正面交锋中，《三生三世》输得有多惨？</a><br />
		<a href="https://wap.ikanchai.com/?action=show&amp;contentid=151838">揭中国影冠8亿保底《战狼2》始末：吴京最少能拿7000万</a><br />
		<a href="https://wap.ikanchai.com/?action=show&amp;contentid=151830">狂卷45亿《战狼2》背后，隐藏着怎样的赚钱之道？</a><br />
		<a href="https://wap.ikanchai.com/?action=show&amp;contentid=151805">《战狼2》成为现象级引全民观影 二线城市成票房主力军</a><br />
		<a href="https://wap.ikanchai.com/?action=show&amp;contentid=151801">《战狼2》引好莱坞热议：精良制作彰显中国英雄魂</a><br />
		<a href="https://wap.ikanchai.com/?action=show&amp;contentid=151753">三生三世》终须散，保底多少泡沫被戳破？</a><br />
		<a href="https://wap.ikanchai.com/?action=show&amp;contentid=151593">科技晚报：《战狼2》跻身全球票房前100名HTC连续九个季度亏损</a><br />
		<a href="https://wap.ikanchai.com/?action=show&amp;contentid=151488">复盘《战狼2》火爆背后的运营奥秘</a><br />
		<a href="https://wap.ikanchai.com/?action=show&amp;contentid=151286">因《战狼2》被热议的北京文化，为何在争议的路上越走越远？</a><br />
		<a href="https://wap.ikanchai.com/?action=show&amp;contentid=151053">杨洋刘亦菲同框难撑《三生三世》票房 “流量明星+大IP”的下一个出路在哪?</a><br />
		<a href="https://wap.ikanchai.com/?action=show&amp;contentid=150971">《战狼2》票房登顶引热议，明星企业纷纷蹭热</a><br />
		<a href="https://wap.ikanchai.com/?action=show&amp;contentid=150677">我为战狼扛过枪！我为票房出过力！——“自来水”养成记</a><br />
		<a href="https://wap.ikanchai.com/?action=show&amp;contentid=150655">吴京和《战狼2》资本圈：收益超15倍 比肩孙正义</a><br />
		<a href="https://wap.ikanchai.com/?action=show&amp;contentid=150603">《战狼2》爆了，VC却在远离影视业，为什么？</a><br />
		<a href="https://wap.ikanchai.com/?action=show&amp;contentid=150255">枪炮与桃花齐飞，《战狼2》《三生三世》票房大卖，背后竟是同一赢家</a><br />
		<a href="https://wap.ikanchai.com/?action=show&amp;contentid=150207">《战狼2》成新晋内地票房冠军 北京文化股价涨56%</a><br />
		<a href="https://wap.ikanchai.com/?action=show&amp;contentid=150147">从《战狼2》背后，看赌徒游戏的保底发行</a><br />
		<a href="https://wap.ikanchai.com/?action=show&amp;contentid=150123">深扒《战狼2》背后，这家A股公司市值暴涨了20亿</a><br />
		<a href="https://wap.ikanchai.com/?action=show&amp;contentid=150041">狂揽30亿票房的《战狼2》 为何在北美惨遭票房滑铁卢？</a><br />
		<a href="https://wap.ikanchai.com/?action=show&amp;contentid=150010">《战狼2》直冲40亿票房欲创新高 哪些公司是大赢家？</a><br />
		<a href="https://wap.ikanchai.com/?action=show&amp;contentid=149877">深扒《战狼2》背后，这家A股公司市值暴涨了20亿</a><br />
		<a href="https://wap.ikanchai.com/?action=show&amp;contentid=149847">谁将杀死《战狼2》里的超级英雄？</a><br />
		<a href="https://wap.ikanchai.com/?action=show&amp;contentid=149817">拍《战狼2》，吴京能赚多少钱？</a><br />
		<a href="https://wap.ikanchai.com/?action=show&amp;contentid=149790">哭着喊“开火” 《战狼2》中燃到爆的原型是他</a><br />
		<a href="https://wap.ikanchai.com/?action=show&amp;contentid=149760">《战狼2》票房勇破22亿！30亿或许将不是终点</a><br />
		<a href="https://wap.ikanchai.com/?action=show&amp;contentid=149618">“战狼”8天20亿：21路资本笑了 马云王健林邓超赚了</a><br />
		<a href="https://wap.ikanchai.com/?action=show&amp;contentid=149592">《战狼2》撑起了7月份票房 ，8月份票房的答案会是杨洋和刘亦菲吗？</a><br />
		<a href="https://wap.ikanchai.com/?action=show&amp;contentid=149443">《战狼2》背后的资本局：一家保底专业户的惊险“赌局”</a><br />
		<a href="https://wap.ikanchai.com/?action=show&amp;contentid=149381">工作日票房3亿，谁在看《战狼2》？</a><br />
		<a href="https://wap.ikanchai.com/?action=show&amp;contentid=149314">吴京的赌与博和由虚向实的《战狼2》</a><br />
		<a href="https://wap.ikanchai.com/?action=show&amp;contentid=149239">《战狼2》的台词文案燃爆了！广告人版台词又扎心了！</a><br />
		<a href="https://wap.ikanchai.com/?action=show&amp;contentid=149226">《战狼2》火了，吴京能赚多少钱？</a><br />
		<a href="https://wap.ikanchai.com/?action=show&amp;contentid=149026">票房平均每年净增100亿 中国电影市场步入发展快车道</a><br />
		<a href="https://wap.ikanchai.com/?action=show&amp;contentid=149006">《战狼2》5天票房破12亿力挽暑期档颓势 “钱途”无限</a><br />
		<a href="https://wap.ikanchai.com/?action=show&amp;contentid=149005">《战狼2》的资本狂欢 北京文化3个交易日涨幅近22％</a><br />
		<a href="https://wap.ikanchai.com/?action=show&amp;contentid=148880">从“万年绿叶”到军旅片“开山鼻祖”，吴京会成为下一个成龙吗？</a><br />
		<a href="https://wap.ikanchai.com/?action=show&amp;contentid=148867">深扒《战狼2》投资局：21家公司抱团参与 8亿保底，再经多次“加磅”</a><br />
		<a href="https://wap.ikanchai.com/?action=show&amp;contentid=148725">上映4小时票房过亿 但超支超得太严重了 吴京：花2亿拍《战狼2》没赚着钱</a><br />
		<a href="https://wap.ikanchai.com/?action=show&amp;contentid=148724">华语第一部军事重工业影片《战狼2》：三天狂揽9亿，中报业绩暴增292%！</a><br />
		<a href="https://wap.ikanchai.com/?action=show&amp;contentid=148668">《绣春刀2》口碑爆棚，为何票房还是不敌《悟空传》？</a><br />
		<a href="https://wap.ikanchai.com/?action=show&amp;contentid=148667">《战狼2》85小时过10亿，为何偷票房屡禁不止？</a><br />
		<a href="https://wap.ikanchai.com/?action=show&amp;contentid=148641">韩三平+黄建新+于冬能否助力《建军大业》冲击16亿？</a><br />
		<a href="https://wap.ikanchai.com/?action=show&amp;contentid=148603">主旋律大片挽救颓势 暑期档后段需发力</a><br />
		<a href="https://wap.ikanchai.com/?action=show&amp;contentid=148599">《闪光少女》跪求票房失利，投资二次元还是门好生意吗？</a><br />
		<a href="https://wap.ikanchai.com/?action=show&amp;contentid=148598">《战狼2》《建军大业》双雄联袂燃爆暑期，观众满意度双刷新纪录</a><br />
		<a href="https://wap.ikanchai.com/?action=show&amp;contentid=148114">《战狼2》单日砍下2亿票房，将成今年暑期唯一完成保底的影片</a><br />
		<a href="https://wap.ikanchai.com/?action=show&amp;contentid=147958">下跪可耻也没有用，现在并将长期没有用</a><br />
		<a href="https://wap.ikanchai.com/?action=show&amp;contentid=147695">两日票房不足7000万，《绣春刀2》能否4亿保底成功？</a><br />
		<a href="https://wap.ikanchai.com/?action=show&amp;contentid=147384">大盘增速放缓，其实是被这些城市拖了后腿</a><br />
		<a href="https://wap.ikanchai.com/?action=show&amp;contentid=147381">暑期档遇冷 《战狼Ⅱ》《建军大业》能否拯救下半场？</a><br />
		<a href="https://wap.ikanchai.com/?action=show&amp;contentid=147254">韩三平豪言《建军大业》票房16亿，中影小动作让人看穿一切</a><br />
		<a href="https://wap.ikanchai.com/?action=show&amp;contentid=146186">5亿的《悟空传》将进入年度国产TOP5</a><br />
		<a href="https://wap.ikanchai.com/?action=show&amp;contentid=146180">好莱坞电影内地票房增长仅1.7％ 难道是观众变得挑剔了</a><br />
		<a href="https://wap.ikanchai.com/?action=show&amp;contentid=145857">《京城81号2》票房跳水背后的诉求和资本</a><br />
		<a href="https://wap.ikanchai.com/?action=show&amp;contentid=145832">上半年票房39亿同比微增 引进片累计份额高达78％</a><br />
		<a href="https://wap.ikanchai.com/?action=show&amp;contentid=145326">保底发行重出江湖，同为8亿高价，《三生三世十里桃花》和《战狼2》谁能成功？</a><br />
		<a href="https://wap.ikanchai.com/?action=show&amp;contentid=144512">国产片票房仅占39％ 缺少爆款 寄希望新导演来破局</a><br />
		<a href="https://wap.ikanchai.com/?action=show&amp;contentid=144431">国内电影市场增速放缓 万达电影半年营收仍增16％</a><br />
		<a href="https://wap.ikanchai.com/?action=show&amp;contentid=144254">上半年电影票房272亿 国产片仅占38.5％</a><br />
		<a href="https://wap.ikanchai.com/?action=show&amp;contentid=144253">票房艺术背离现象 改善文学仍是电影创作薄弱环节</a><br />
		<a href="https://wap.ikanchai.com/?action=show&amp;contentid=142941">为什么美方终于如愿进场审计票房？或因保票房高速增长，我们比美方更焦虑</a><br />
		<a href="https://wap.ikanchai.com/?action=show&amp;contentid=142876">《变5》中美都是票房冠军，但续集电影北美和中国反应不同</a><br />
		<a href="https://wap.ikanchai.com/?action=show&amp;contentid=142848">超级大片排片占比达80％ 其他影片只能见缝插针</a><br />
		<a href="https://wap.ikanchai.com/?action=show&amp;contentid=142841">《变形金刚5》口碑崩塌票房不敌《速8》，“讨好”中国策略怎么失效了？</a><br />
		<a href="https://wap.ikanchai.com/?action=show&amp;contentid=142793">上半年国产片票房占比退守35%，绝地反攻可依仗者惟有一策</a><br />
		<a href="https://wap.ikanchai.com/?action=show&amp;contentid=141706">好莱坞电影拉动中国票房 ，2017年增幅有望达16％</a><br />
		<a href="https://wap.ikanchai.com/?action=show&amp;contentid=141657">影院票房收入不高怎么办——你可知道影院厅外的广告资源是个价值300亿的金矿？</a><br />
		<a href="https://wap.ikanchai.com/?action=show&amp;contentid=141573">《变形金刚5》首日票房超3亿，但评分却首次“不及格”</a><br />
		<a href="https://wap.ikanchai.com/?action=show&amp;contentid=140709">资本不应单纯绑定票房指标 重工业加新导演是利器</a><br />
		<a href="https://wap.ikanchai.com/?action=show&amp;contentid=140598">当靓汤熬成毒鸡汤 新木乃伊口碑扑街却赢了票房</a><br />
		<a href="https://wap.ikanchai.com/?action=show&amp;contentid=140523">小镇青年、原罪的中国电影票房及其再反思</a><br />
		<a href="https://wap.ikanchai.com/?action=show&amp;contentid=139551">国产动画电影强势崛起，票房10亿指日可待</a><br />
		<a href="https://wap.ikanchai.com/?action=show&amp;contentid=138702">10年、91部、200亿 ， 电影行业最“抠门”老板如何保持三年冠？</a><br />
		<a href="https://wap.ikanchai.com/?action=show&amp;contentid=138681">吴京公司遭侵权起诉索赔千万 《战狼2》或将更名</a><br />
		<a href="https://wap.ikanchai.com/?action=show&amp;contentid=138077">票房低迷上市延期 迷途的乐视影业</a><br />
		<a href="https://wap.ikanchai.com/?action=show&amp;contentid=136928">刷票房、刷收视率、刷点击率，中国影视还有回头路么？</a><br />
		<a href="https://wap.ikanchai.com/?action=show&amp;contentid=136610">《摔跤吧，爸爸》内地票房突破十亿 印度电影的胜利以及背后的中国赢家</a><br />
		<a href="https://wap.ikanchai.com/?action=show&amp;contentid=136609">端午档期：海盗吃肉摔跤爸爸喝汤 国产电影心很慌</a><br />
		<a href="https://wap.ikanchai.com/?action=show&amp;contentid=136608">《海滩救护队》票房惨淡 派拉蒙甩锅“都赖影评”！</a><br />
		<a href="https://wap.ikanchai.com/?action=show&amp;contentid=136515">端午节集体“阵亡”并不可怕，可怕的是观众正在抛弃我们</a><br />
		<a href="https://wap.ikanchai.com/?action=show&amp;contentid=136328">《战狼2》版权纠纷案，一场法律与“行业旧规”的艰难对决</a><br />
		<a href="https://wap.ikanchai.com/?action=show&amp;contentid=135991">中国音乐节的1.1时代：遍地开花，同质倾向和体制之困</a><br />
		<a href="https://wap.ikanchai.com/?action=show&amp;contentid=135605">原罪、滞胀、供给侧改革，中国电影票房增量的再反思</a><br />
		<a href="https://wap.ikanchai.com/?action=show&amp;contentid=132519">万达院线曾茂军：票房总有碰天花板的一天</a><br />
		<a href="https://wap.ikanchai.com/?action=show&amp;contentid=130923">8亿保底的《战狼2》被告侵权或遭禁播 “达康书记”怎么办？</a><br />
		<a href="https://wap.ikanchai.com/?action=show&amp;contentid=130899">中外合拍助力中国电影蝶变 文化故事期待磨合</a><br />
		<a href="https://wap.ikanchai.com/?action=show&amp;contentid=130838">4月票房同比大涨57％ 国产片不给力全靠《速8》支撑</a><br />
		<a href="https://wap.ikanchai.com/?action=show&amp;contentid=130537">五一档国产电影高口碑低票房 小成本好片遭遇生存迷思</a><br />
		<a href="https://wap.ikanchai.com/?action=show&amp;contentid=130456">影响中国的票房，为何还是好莱坞影片？</a><br />
		<a href="https://wap.ikanchai.com/?action=show&amp;contentid=129618">票房仍是电影市场唯一收入来源，影视四巨头晚节不保？</a><br />
		<a href="https://wap.ikanchai.com/?action=show&amp;contentid=129105">光线电影下滑华谊直接亏损，手里的影视股到底咋整？</a><br />
		<a href="https://wap.ikanchai.com/?action=show&amp;contentid=128634">好莱坞大片如何拯救中国票房？</a><br />
		<a href="https://wap.ikanchai.com/?action=show&amp;contentid=128471">创作盲目投资失利 北京籍电影作品盈利者只有10％</a><br />
		<a href="https://wap.ikanchai.com/?action=show&amp;contentid=127884">传奇影业拿什么实现“31个小目标”</a><br />
		<a href="https://wap.ikanchai.com/?action=show&amp;contentid=127583">《速8》3天破12亿，为何没有话题却票房狂涨？</a><br />
		<a href="https://wap.ikanchai.com/?action=show&amp;contentid=126547">嫌疑人X、非凡任务、绑架者，票房为啥没爆？</a><br />
		<a href="https://wap.ikanchai.com/?action=show&amp;contentid=126469">进口片VS国产片，谁是Q1单日票房冠军卫冕王？</a><br />
		<a href="https://wap.ikanchai.com/?action=show&amp;contentid=126299">《电影产业促进法》：亡羊补牢，还跟趟么？</a><br />
		<a href="https://wap.ikanchai.com/?action=show&amp;contentid=126257">银幕多了，票房为何却少了</a><br />
		<a href="https://wap.ikanchai.com/?action=show&amp;contentid=125892">票房高增长光环褪去裸泳者浮出：9成圈外投资人赔钱</a><br />
		<a href="https://wap.ikanchai.com/?action=show&amp;contentid=125835">票房高增长光环褪去  “裸泳者”浮出：9成“圈外”投资赔钱</a><br />
		<a href="https://wap.ikanchai.com/?action=show&amp;contentid=125773">票房高增长光环褪去：9成“圈外”投资赔钱</a><br />
		<a href="https://wap.ikanchai.com/?action=show&amp;contentid=125409">《攻壳机动队》北美票房不佳，能否“续命”要看中国市场</a><br />
		<a href="https://wap.ikanchai.com/?action=show&amp;contentid=125338">票补退潮影片质量不佳 一季度电影票房现负增长</a><br />
		<a href="https://wap.ikanchai.com/?action=show&amp;contentid=125197">电影到底还有多少泡沫？</a><br />
		<a href="https://wap.ikanchai.com/?action=show&amp;contentid=125117">三部国产片难敌一只金刚，《金刚：骷髅岛》票房破10亿夺冠</a><br />
		<a href="https://wap.ikanchai.com/?action=show&amp;contentid=124957">3月新增影院61家 票房向一二线迁移明显</a><br />
		<a href="https://wap.ikanchai.com/?action=show&amp;contentid=124586">天价请来小鲜肉票房还是扑街 16年电影公司一片亏损</a><br />
		<a href="https://wap.ikanchai.com/?action=show&amp;contentid=123252">面对一季度票房负增长的中国电影市场，互联网企业又将重点投向了宣发</a><br />
		<a href="https://wap.ikanchai.com/?action=show&amp;contentid=122386">票房撇脂术：《美女与野兽》何以轮番吸金？</a><br />
		<a href="https://wap.ikanchai.com/?action=show&amp;contentid=122286">一年偷出上亿票房，326家影院被重罚</a><br />
		<a href="https://wap.ikanchai.com/?action=show&amp;contentid=119479">《生化危机6》3天狂扫6.7亿，但引进方为何只赚百万？</a><br />
		<a href="https://wap.ikanchai.com/?action=show&amp;contentid=118951">《生化危机》、《极限特工》一路火爆，引进片的“春天”也许真的来了</a><br />
		<a href="https://wap.ikanchai.com/?action=show&amp;contentid=118395">春节档电影口碑票房倒挂 高估豆瓣影响</a><br />
		<a href="https://wap.ikanchai.com/?action=show&amp;contentid=118229">情人节日票房3.8亿下降50%，大佬迷恋家庭影院</a><br />
		<a href="https://wap.ikanchai.com/?action=show&amp;contentid=117777">大数据里揭秘春节档：口碑与票房为何总成反比？</a><br />
		<a href="https://wap.ikanchai.com/?action=show&amp;contentid=117582">春节档开门红 电影票房真的迎来一片繁荣吗？</a><br />
		<a href="https://wap.ikanchai.com/?action=show&amp;contentid=117172">索尼影视娱乐票房不景气，或考虑出售影视制作业务</a><br />
		<a href="https://wap.ikanchai.com/?action=show&amp;contentid=117070">《西游·伏妖篇》宣发费用高达1.2亿，会是下一个《美人鱼》吗？</a><br />
		<a href="https://wap.ikanchai.com/?action=show&amp;contentid=116051">腾讯影业《少年》失落 带来的是怎样的思考</a><br />
		<a href="https://wap.ikanchai.com/?action=show&amp;contentid=115474">“滞胀”的票房</a><br />
		<a href="https://wap.ikanchai.com/?action=show&amp;contentid=114168">2016年全国电影总票房为457.12亿元 同比增长3.73%</a><br />
		<a href="https://wap.ikanchai.com/?action=show&amp;contentid=113562">29部电影定档明年1月 哪些能票房口碑双收？</a><br />
		<a href="https://wap.ikanchai.com/?action=show&amp;contentid=113361">2016年院线靠什么实现逆势增长：并购+稀有试听+票改签</a><br />
		<a href="https://wap.ikanchai.com/?action=show&amp;contentid=112790">《长城》大卖国内总票房超441亿，这些上市公司赚翻了</a><br />
		<a href="https://wap.ikanchai.com/?action=show&amp;contentid=111111">《血战钢锯岭》票房高涨，背后却有一场署名权之战</a><br />
		<a href="https://wap.ikanchai.com/?action=show&amp;contentid=110993">公开票房数据，能为网络大电影的发展带来些什么？</a><br />
		<a href="https://wap.ikanchai.com/?action=show&amp;contentid=110749">贺岁档开场票房全靠进口片撑场 全年票房预计460亿元</a><br />
		<a href="https://wap.ikanchai.com/?action=show&amp;contentid=110565">2016贺岁档票房血战：小镇青年是救世主？</a><br />
		<a href="https://wap.ikanchai.com/?action=show&amp;contentid=110103">《三少爷的剑》票房折戟，武侠片注定江湖路远</a><br />
		<a href="https://wap.ikanchai.com/?action=show&amp;contentid=109882">《你的名字。》上映五天票房近4亿，光线靠动漫打了一场翻身仗</a><br />
		<a href="https://wap.ikanchai.com/?action=show&amp;contentid=109652">蓝皮书发布，动画电影票房持续走高只是时势造英雄？</a><br />
		<a href="https://wap.ikanchai.com/?action=show&amp;contentid=109571">12月3日票房环比大增56％ 电影市场能否实现年底翘尾？</a><br />
		<a href="https://wap.ikanchai.com/?action=show&amp;contentid=108682">大陆影片横扫金马奖，电影票房却在负增长？</a><br />
		<a href="https://wap.ikanchai.com/?action=show&amp;contentid=108576">大片扎堆贺岁档 12月会是收割票房的“万能档”吗?</a><br />
		<a href="https://wap.ikanchai.com/?action=show&amp;contentid=108410">娱乐宝变身“摆渡人”，粉丝权益升级与票房挂钩</a><br />
		<a href="https://wap.ikanchai.com/?action=show&amp;contentid=108091">华谊兄弟与冯小刚的资本赌约背后：业绩兑现焦虑 产业由暖转冷</a><br />
		<a href="https://wap.ikanchai.com/?action=show&amp;contentid=107852">李安《比利.林恩》遭遇票房滑铁卢，虽失败，却令人赞叹</a><br />
		<a href="https://wap.ikanchai.com/?action=show&amp;contentid=107615">王中磊：BAT不是入侵者，万达也很难成为寡头</a><br />
		<a href="https://wap.ikanchai.com/?action=show&amp;contentid=107403">冯小刚回应与万达交战：我是牺牲品不怕事儿</a><br />
		<a href="https://wap.ikanchai.com/?action=show&amp;contentid=106223">票房靠“内容消费”驱动明显 政策助力电影产业发展</a><br />
		<a href="https://wap.ikanchai.com/?action=show&amp;contentid=105501">《从你的全世界路过》票房爆表,光线怎么反而要裁员</a><br />
		<a href="https://wap.ikanchai.com/?action=show&amp;contentid=104937">电影增速放缓，影业公司要掌控哪些技术流才能通关</a><br />
		<a href="https://wap.ikanchai.com/?action=show&amp;contentid=104899">为什么现在电影的寿命只有短短两周？</a><br />
		<a href="https://wap.ikanchai.com/?action=show&amp;contentid=104734">"湄公河行动"刷新主旋律纪录，中国式大片如何炼成？</a><br />
		<a href="https://wap.ikanchai.com/?action=show&amp;contentid=104720">10月新开影院94家新增银幕587块 中影南方新干线成“开店劳模”</a><br />
		<a href="https://wap.ikanchai.com/?action=show&amp;contentid=104518">影视投资7赚2赔1平 戴着资本镣铐中国电影难出佳片</a><br />
		<a href="https://wap.ikanchai.com/?action=show&amp;contentid=104148">《驴得水》票房千万 难掩黑色幽默市场的尴尬</a><br />
		<a href="https://wap.ikanchai.com/?action=show&amp;contentid=102955">今年分账大片达38部已超额引进4部 中国电影遇到麻烦了？</a><br />
		<a href="https://wap.ikanchai.com/?action=show&amp;contentid=101842">老套的梗抓不住观众的心，票房主力喜剧片挑不起大梁了</a><br />
		<a href="https://wap.ikanchai.com/?action=show&amp;contentid=100806">欲名利双收：请多些真诚，少点套路</a><br />
		<a href="https://wap.ikanchai.com/?action=show&amp;contentid=100619">票房遇冷!十一档成了唯IP论者的“葬身之地”</a><br />
		<a href="https://wap.ikanchai.com/?action=show&amp;contentid=96841">王健林先赚1亿元的“小目标”：1760只A股未达到</a><br />
		<a href="https://wap.ikanchai.com/?action=show&amp;contentid=96771">情怀耗尽，电影泡沫，青春片走到尽头了吗？ </a><br />
		<a href="https://wap.ikanchai.com/?action=show&amp;contentid=96306">三大毒瘤拖累电影市场 电影产业促进法能否成排毒良药</a><br />
		<a href="https://wap.ikanchai.com/?action=show&amp;contentid=95292">八个月来的中国电影，你们真的过分了</a><br />
		<a href="https://wap.ikanchai.com/?action=show&amp;contentid=94743">从北京到里约 电影产业的十大跃变和三个永恒</a><br />
		<a href="https://wap.ikanchai.com/?action=show&amp;contentid=94727">国产片票房跳水TOP10,票补的洪荒之力是罪魁祸首</a><br />
		<a href="https://wap.ikanchai.com/?action=show&amp;contentid=94582">《封神传奇》上映11天票房未过3亿，博纳10亿票房保底注定扑街？？</a><br />
		<a href="https://wap.ikanchai.com/?action=show&amp;contentid=94518">2016年内地票房240天破300亿 4部国产片挤入票房前十</a><br />
		<a href="https://wap.ikanchai.com/?action=show&amp;contentid=94457">韩流渐成"寒流"？业内人士称或是本土制造的春天</a><br />
		<a href="https://wap.ikanchai.com/?action=show&amp;contentid=94179">北京文化8亿保底《战狼2》 1.4亿“分期保底”+阶梯分成</a><br />
		<a href="https://wap.ikanchai.com/?action=show&amp;contentid=93937">《盗墓笔记》首映日排片超6万场 票房剑指20亿或成暑期档爆款</a><br />
		<a href="https://wap.ikanchai.com/?action=show&amp;contentid=93729">第29周票房万达院线1.28亿稳居第一 新开影院23家</a><br />
		<a href="https://wap.ikanchai.com/?action=show&amp;contentid=93688">南派三叔：当编剧没犹豫，接也是死，不接也是死</a><br />
		<a href="https://wap.ikanchai.com/?action=show&amp;contentid=92463">2016上半年批片平均票房1.12亿创历史新高</a><br />
		<a href="https://wap.ikanchai.com/?action=show&amp;contentid=92371">“烂片”扎堆或因审美疲劳 业内呼吁建立影片上档协调机制</a><br />
		<a href="https://wap.ikanchai.com/?action=show&amp;contentid=91237">票房增速放缓累及四大电影公司业绩 影视证券化被限制</a><br />
		<a href="https://wap.ikanchai.com/?action=show&amp;contentid=91104">保底发行已成入局电影行业通行证 投资不理智或战死沙场</a><br />
		<a href="https://wap.ikanchai.com/?action=show&amp;contentid=90893">《大鱼海棠》和《摇滚藏獒》票房相差10倍，你怎么看？</a><br />
		<a href="https://wap.ikanchai.com/?action=show&amp;contentid=90789">2016文创大爆发！196家获融资，票房达245.8亿元！</a><br />
		<a href="https://wap.ikanchai.com/?action=show&amp;contentid=90143">暑期黄金档票房将要扑街，这届观众不行？</a><br />
		<a href="https://wap.ikanchai.com/?action=show&amp;contentid=89936">监管新规揭去票房"朦胧面纱" 抑制炒作严防造假</a><br />
		<a href="https://wap.ikanchai.com/?action=show&amp;contentid=89823">《大鱼海棠》上映9天4亿票房的营销启示！</a><br />
		<a href="https://wap.ikanchai.com/?action=show&amp;contentid=88568">《摇滚藏獒》票房惨淡 华谊兄弟发行高管被降职</a><br />
		<a href="https://wap.ikanchai.com/?action=show&amp;contentid=88535">暑期档“寒意来袭”：买票房，越来越成为一种公开的市场手段？</a><br />
		<a href="https://wap.ikanchai.com/?action=show&amp;contentid=88244">电影《魔兽》在华最终票房出炉：14.7亿元！近4000万人观影</a><br />
		<a href="https://wap.ikanchai.com/?action=show&amp;contentid=87645">有人声称大鱼海棠票房不过五亿就剃光头：16部动画电影搏杀暑期档背后的角力与期望</a><br />
		<a href="https://wap.ikanchai.com/?action=show&amp;contentid=85152">焦虑的中国电影：潜伏的危机恰是改革良机</a><br />
		<a href="https://wap.ikanchai.com/?action=show&amp;contentid=84355">谁说票补不利于市场发展？中国电影票价或将继续走跌</a><br />
		<a href="https://wap.ikanchai.com/?action=show&amp;contentid=84145">8天11亿！独家解密《魔兽》票房是怎么来的？</a><br />
		<a href="https://wap.ikanchai.com/?action=show&amp;contentid=83916">上映一周中国票房破11亿 《魔兽》炒热“影游互生”</a><br />
		<a href="https://wap.ikanchai.com/?action=show&amp;contentid=83655">魔兽票房超10亿元 传奇影业扭亏为盈尚存较大变数</a><br />
		<a href="https://wap.ikanchai.com/?action=show&amp;contentid=83174">电影《魔兽》在中国会比《星球大战》更火爆？</a><br />
		<a href="https://wap.ikanchai.com/?action=show&amp;contentid=82318">《魔兽》预约票房已上千万，影游联合是未来VR的重头戏</a><br />
		<a href="https://wap.ikanchai.com/?action=show&amp;contentid=81435">揭秘电影票房造假：院线等三方合谋 获利翻十倍</a><br />
		<a href="https://wap.ikanchai.com/?action=show&amp;contentid=80947">中国电影金融化：一个被杠杆翘高的票房门槛</a><br />
		<a href="https://wap.ikanchai.com/?action=show&amp;contentid=80557">同样是开发IP，《愤怒的小鸟》给国内从业者上了一课</a><br />
		<a href="https://wap.ikanchai.com/?action=show&amp;contentid=72794">深扒中国电影票房造假：金融创新的步子迈得太大，扯到了电影内容的蛋</a><br />
		<a href="https://wap.ikanchai.com/?action=show&amp;contentid=65541">叶问3揭开市场乱象冰山一角 近年全国票房一成被偷走</a><br />
		<a href="https://wap.ikanchai.com/?action=show&amp;contentid=60918">《叶问3》掀开票房暗箱 文化众筹集资大爆发</a><br />
		<a href="https://wap.ikanchai.com/?action=show&amp;contentid=44072">2015电影总票房超440亿元 观影人次达12亿</a><br />
		<a href="https://wap.ikanchai.com/?action=show&amp;contentid=39939">中国电影票房过400亿会不会成为下一个房地产泡沫</a><br />
		<a href="https://wap.ikanchai.com/?action=show&amp;contentid=19053">都市爱情片，没有一线明星，注定亏本</a><br />
		<a href="https://wap.ikanchai.com/?action=show&amp;contentid=12169">《狼图腾》口碑营销步步为赢 稳扎稳打实现票房逆袭</a><br />
		<a href="https://wap.ikanchai.com/?action=show&amp;contentid=11921">影视众筹或成2015年票房推动力</a><br />
		<a href="https://wap.ikanchai.com/?action=show&amp;contentid=11882">奥斯卡提名影片性价比差 名利场之争票房退二线</a><br />
		<a href="https://wap.ikanchai.com/?action=show&amp;contentid=8811">电影发行的电商化和电影营销的互联网化</a><br />
		<a href="https://wap.ikanchai.com/?action=show&amp;contentid=8508">《匆匆那年》：营销价值超越票房的“青春回忆”</a><br />
		<a href="https://wap.ikanchai.com/?action=show&amp;contentid=7275">360光线联手抢占在线票房，需跨过哪些门槛？</a><br />
		<a href="https://wap.ikanchai.com/?action=show&amp;contentid=3157">“鬼吹灯”电影定档15年贺岁 票房预计20亿</a><br />
		</p>
<p><anchor title="返回"><prev/>&lt;返回</anchor><br /><br /><a href="https://wap.ikanchai.com/" title="返回首页">&lt;返回首页</a></p>
<p align="center">Copyright CmsTop.com<br />2026年04月20日 00:42:54</p></card>
</wml>